特性
- 2.5 V 到 5.5 V 的工作输入电压范围
- 提供0.8V至3.5V的固定电压选项
- 提供0.8V至5.5VVDROP 的可调电压选项
- 基准电压:0.8V
- 超低静态电流:13A(典型值)
- 超低12VRMS 噪声(100Hz至100kHz)
- 超低压差:230mV(500mA时典型值)
- 在整个负载/线路/温度范围内的精度:±2%
- 高PSRR:71 dB(1 kHz时)
- 内部软启动可限制导通浪涌电流
- 热关断和限流保护
- 在搭配1µF陶瓷输出电容器时可稳定工作
- 有源输出放电,实现快速关断
- 无铅设备
应用
- PDA、手机、GPS和智能手机
- 无线手持式设备、无线LAN、蓝牙® 、Zigbee®
- 便携式医疗设备
- 其他电池供电应用
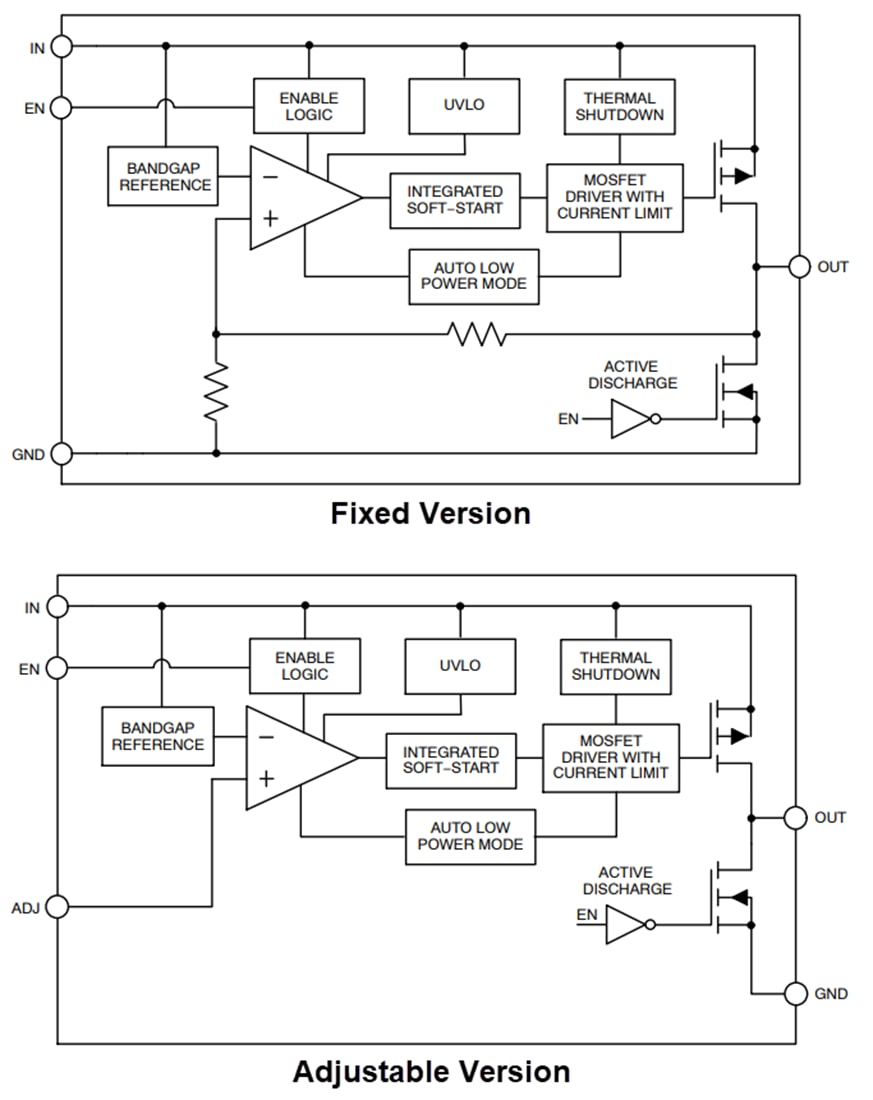
简化示意图框图
发布日期: 2025-04-21
| 更新日期: 2025-05-27

