Texas Instruments LP5899/LP5899-Q1 LED驱动器
Texas Instruments LP5899/LP5899-Q1 LED驱动器是SPI兼容设备,具有内部振荡器,可生成LP589x/LP589x-Q1系列所需的连续时钟。这些LED驱动器在LP589x/LP589x-Q1菊花链和LP5899/LP5899-Q1内部集成报告故障。LP5899/LP5899-Q1设备可驱动任意数量的LP589x/LP589x-Q1系列级联LED驱动器,LED驱动器可限制级联设备的最大数量。这些LED驱动器的工作温度范围为-40°C至125°C。LP5899/LP5899-Q1驱动器非常适合用于和LP5891/LP5891-Q1 LP5892/LP5892-Q1设备的SPI兼容连接。Texas Instruments LP5899-Q1器件符合汽车应用类AEC-Q100认证。特性
- 符合汽车应用类AEC-Q100标准:
- 1级环境温度范围:-40°C至125°C
- 器件人体模型(HBM)分类等级H3A
- 器件CDM分类等级C5
- 工作电压VCC 范围:2.5V至5.5V
- SPI外设:
- 数据传输速率高达20MHz
- 通过一个控制器支持多种外设
- 连续时钟串行接口 (CCSI) 控制器和外设:
- 可编程时钟抖动,用于增强EMI
- 诊断:
- 开漏故障引脚
- SPI通信损耗检测
- 用于SPI通信的CRC
- CCSI数据完整性
- 数据就绪中断,用于提供数据
应用
- SPI兼容连接,用于LP5891-Q1和LP5892-Q1器件
应用示意图
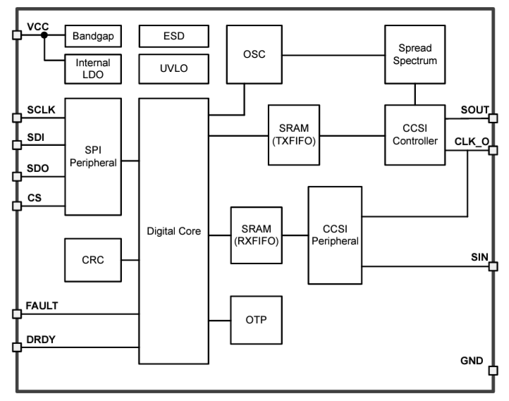
功能框图
发布日期: 2025-01-13
| 更新日期: 2025-05-09
