Renesas Electronics IoT通讯网关集线器

Renesas Electronics IoT通信网关集线器是一套用于医疗监测系统的通信网关解决方案,可以自动将患者的健康状况向医生同步。患者监测设备通过通过长距离蓝牙®低功耗或非接触式近场通信 (NFC) 与该网关通信。网关将把这些数据传输给医生或内部/云分析系统。

特性

  • 在非IP本地通信(NFC、蓝牙低功耗)和IP网络/云(Wi-Fi、LTE)之间建立网关桥接。
  • MPU级性能,但是RTOS中的软件开发可以实现超短启动时间并轻松移植MCU代码库
  • 通用15W交流/直流适配器,优化用于5V应用负载

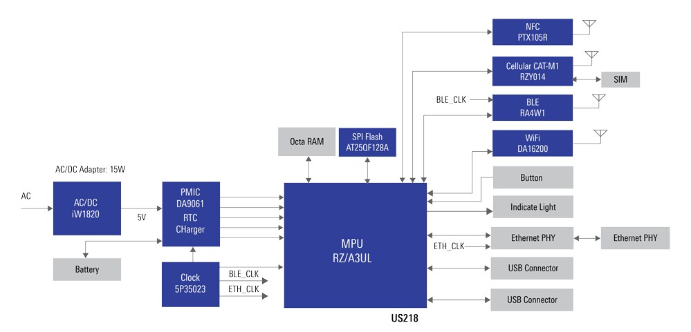
系统框图

框图 - Renesas Electronics IoT通讯网关集线器

其他应用解决方案

了解瑞萨 (Renesas) 的模拟+功率+嵌入式处理的互补产品组合如何共同提供全面的解决方案。

了解更多

发布日期: 2023-06-27 | 更新日期: 2023-07-11