在典型配置中,RAA489204主器件通过SPI端口与主机微控制器通信,并通过强大的专有双线菊花链连接多达29个额外RAA489204器件。该通信系统高度灵活,可通过电容器隔离、变压器隔离或两者组合实现。
包括三种电池平衡模式(手动平衡模式、定时平衡模式和自动平衡模式)。从每个电池中移除主机指定充电量后,自动平衡模式终止平衡。Renesas Electronics RAA489204采用64引脚TQFP封装,指定工作温度范围为-40ºC至+85ºC。
特性
- 监控和管理多达14节电池;所有标准锂离子电池化学成分
- 强大的双线菊花链通信系统,采用高达1Mbps的电容器或变压器耦合
- 高安全性通信协议
- 电池电压测量精度:+/-10mV
- 最多六个外部温度监控输入
- 内部温度监控,带警告标志
- 两个通用I/O引脚
- 自动感测电池堆栈中的位置
- 在10ms内测量和执行112节电池的所有电压、温度和诊断
- 用户可选的电池测量平均功能
- 14位电压和温度测量
- 针对所有关键功能的集成系统诊断
- 如果通信丢失,看门狗将关闭设备
- 完全耐受EMC和瞬态
应用
- 电动交通电池组
- 便携式和半便携式设备
- 需要高精度管理和监控的备用电池和储能系统
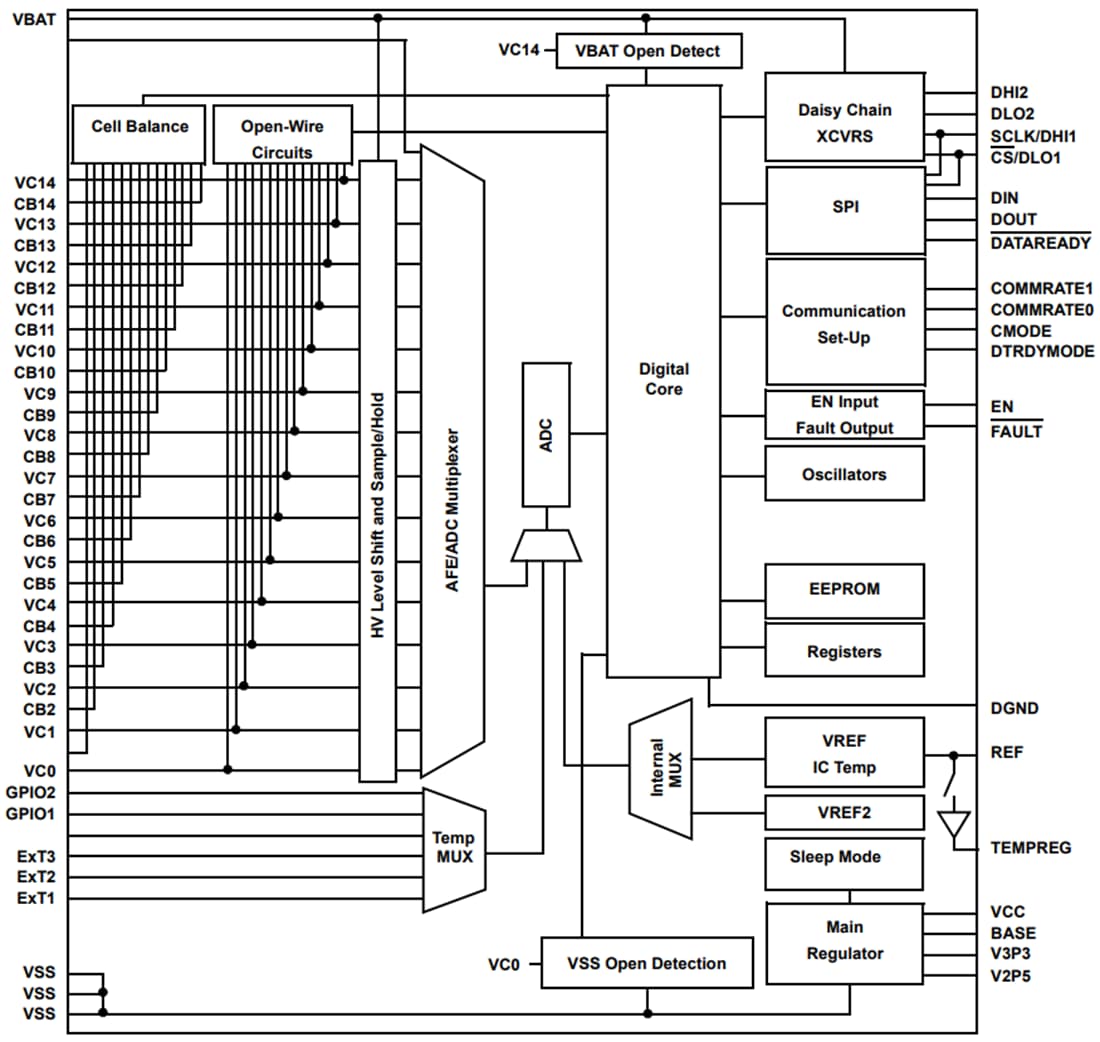
框图
发布日期: 2021-11-09
| 更新日期: 2022-03-11

