Renesas Electronics RC38x08 FemtoClock®3无线抖动衰减器
Renesas Electronics RC38x08 FemtoClock® 3无线超低相位噪声抖动衰减器和时钟发生器包括RC38208和RC38108高性能小尺寸器件。这些组件是超低相位噪声抖动衰减器、多频时钟合成器和数字控制振荡器 (DCO)。灵活的低功耗RC38x08器件可生成具有超低带内相位噪声和杂散功能的时钟,用于4G/5G射频收发器,实现低于25fs RMS的抖动(用于112Gbps和224Gbps SerDes)。RC38x08最多可管理三个同步域,支持CPRI/eCPRI和同步方法,如IEEE 1588、同步以太网(SyncE)、GPI或GNSS。RC38x08通过多达四个频域简化了系统时钟生成,而集成LDO则可提供出色的PSRR,从而降低PCB的复杂性。这种简化使其成为光学前端DAC/ADC和DSP计时、高速SerDes参考时钟、5G分配单元以及基于PTP时钟的高性能DCO等应用的理想选择。特性
- 超低相位噪声合成器,抖动低于25fs RMS,12kHz至20MHz,4MHz HPF
- 两个独立的低相位噪声同步域
- 四个独立的低相位噪声频域
- 支持JESD204B/C
- 时间同步模块,带时间数字转换器(TDC)、当日时间(TOD)计数器和PTP时钟
- 八个时钟输出,带独立整数分频器
- 6:LVDS、HCSL(AC-LVPECL)或CML
- 2:LVDS、HCSL(AC-LVPECL)或LVCMOS
- 输出频率范围
- 直流至2.5GHz(CML)
- 直流至1GHz(LVDS或HCSL)
- 直流至250MHz(LVCMOS)
- 两个差分时钟输入可配置为四个单端时钟输入
- 采用1.8V电源供电
- 当器件断电时,时钟输入可耐受1.8V输入电压,灌电流小于1mA
- CLKIN输入频率范围:直流至1GHz
- 时间同步TDC支持1PPS和PP2S输入
- DPLL符合ITU-T G.8262和G.8262.1标准
- DPLL输入至输出相位变化≤100ps
- DCO频率分辨率:<>
- 7mm × 7mm、64-BGA封装
应用
- 光学前端DAC/ADC和DSP时钟
- 高性能DCO,用于基于精密时间协议(PTP)的时钟
- 参考时钟,用于112Gbps和224Gbps SerDes
- 5G分布单元(DU)、交换机和路由器
典型光学前端用例
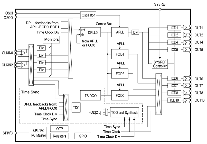
RC38108 方框图
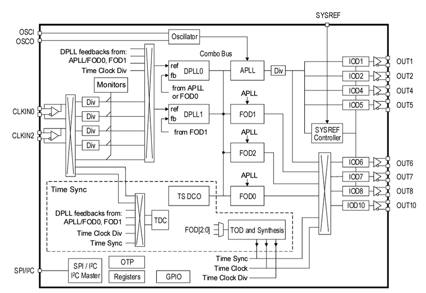
RC38208 方框图
发布日期: 2024-10-11
| 更新日期: 2024-12-02
