Renesas Electronics RC38x12具有较高的参考时钟抖动裕度,设有多达三个同步域和四个频域,使设计人员能够简化整体PCB设计,并提供单一计时解决方案,支持通过CPRI或eCPRI以及射频时钟生成实现同步。该器件具有低功耗和小面积,同时实现超低抖动并保持超低相位一致性,这对于5G和5G-A BTS无线电单元设计至关重要。RC38x12具有灵活性,可锁定到外部参考时钟或自由运行晶体/振荡器。该器件具有无中断基准切换功能,即使在冗余计时源之间切换,也能确保不间断的服务,因此非常适合用于在电信应用中提供稳健、精确的计时功能。
特性
- 超低相位噪声合成器,抖动低于25fs RMS,12kHz至20MHz,4MHz HPF
- 三个独立的低相位噪声同步域
- 四个独立的低相位噪声频域
- 支持JESD204B/C
- 时间同步模块,带时间数字转换器(TDC)、当日时间(TOD)计数器和PTP时钟
- 12个时钟输出,带独立整数分频器
- 8:LVDS、HCSL(AC-LVPECL)或CML
- 4:LVDS、HCSL(AC-LVPECL)或LVCMOS
- 输出频率范围
- 直流至2.5GHz(CML)
- 直流至1GHz(LVDS或HCSL)
- 直流至250MHz(LVCMOS)
- 四个差分或单端时钟输入
- 采用1.8V电源供电
- 当器件断电时,时钟输入可耐受1.8V输入电压,灌电流小于1mA
- CLKIN输入频率范围:直流至1GHz
- 时间同步TDC支持1PPS和PP2S输入
- DPLL符合ITU-T G.8262和G.8262.1标准
- DPLL输入至输出相位变化≤100ps
- DCO频率分辨率:<>
- 9mm × 9mm、100-BGA封装
应用
- 5G无线电单元(RU)
- 高性能DCO,用于基于精密时间协议(PTP)的时钟
- 5G分布单元(DU)、交换机和路由器
- 参考时钟,用于112Gbps和224Gbps SerDes
典型的5G无线电单元用例
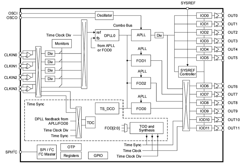
RC38112 方框图
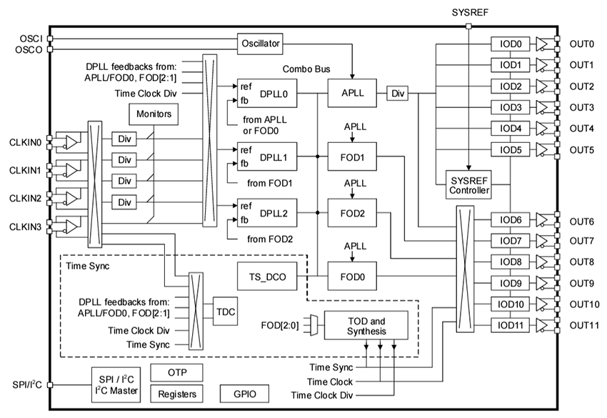
RC38312 方框图
发布日期: 2024-10-11
| 更新日期: 2024-12-02

