Renesas Electronics RL78/G22电容式触摸评估系统

Renesas Electronics RL78/G22电容式触摸评估系统是一款设计用于评估RL78/G22微控制器的套件。该套件用于评估各种触摸功能(按钮、滑块、滚轮),在设计电路板或软件时用作参考。RL78/G22套件设有E2/E2 Lite调试器连接器、通用 开关和LED以及电容式触摸传感器 (CTSU2La) (可提供29个通道)。RL78/G22电容式触摸评估系统符合IEC 61000-4-3和IEC 61000-4-6第3级标准。

特性

  • E2/E2 Lite调试器连接器微控制器编程和调试
  • 通用开关和LED
  • 评估各种触摸功能(按钮、滑块和滚轮)
  • 简单的原型设计
  • 设计电路板或软件时用作参考
  • RL78/G22 MCU (R7F102GGE2DFB) 安装
  • 可提供电容式触摸传感器 (CTSU2La) 端子29通道
  • 通过QE进行电容式触摸,从而轻松调整灵敏度:
    • 操作简单,界面直观
    • 即使对于采用GUI的初学者,也可轻松开发触摸界面
    • 自动输出调整的源代码
  • 符合IEC 61000-4-3和IEC 61000-4-6第3级标准

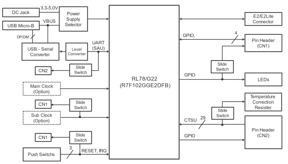
框图

框图 - Renesas Electronics RL78/G22电容式触摸评估系统
发布日期: 2023-03-24 | 更新日期: 2023-10-02