特性
- 基于AI机器学习算法的传感器输出
- 总有机化合物 (TVOC) 浓度和室内空气质量 (IAQ) 的绝对测量
- 估算的二氧化碳含量 (eCO2)
- 基于TVOC和气味变化的相对IAQ
- 超低平均功耗:<0.2mW
- 耐硅氧烷
- 符合JEDEC JESD47十年寿命标准
- 1.8V至3.6V电源电压
- 可编程GPIO引脚
- 工作温度范围:-40°C至+65°C
- IP67 防护等级
- 4.5mm × 4.0mm × 0.950mm主体,0.50脚距20-LGA封装
- 支持I2C和UART
应用
- 监控家庭、办公室、公共建筑、个人和浴室的环境,确保健康的条件和舒适性
- 检测危险物质和不健康条件(例如建筑材料中的烟雾)
- 基于室内环境空气质量的自动化(暖通空调、空气净化器、恒温器、厨房抽油烟机等)
- 室内空气监测
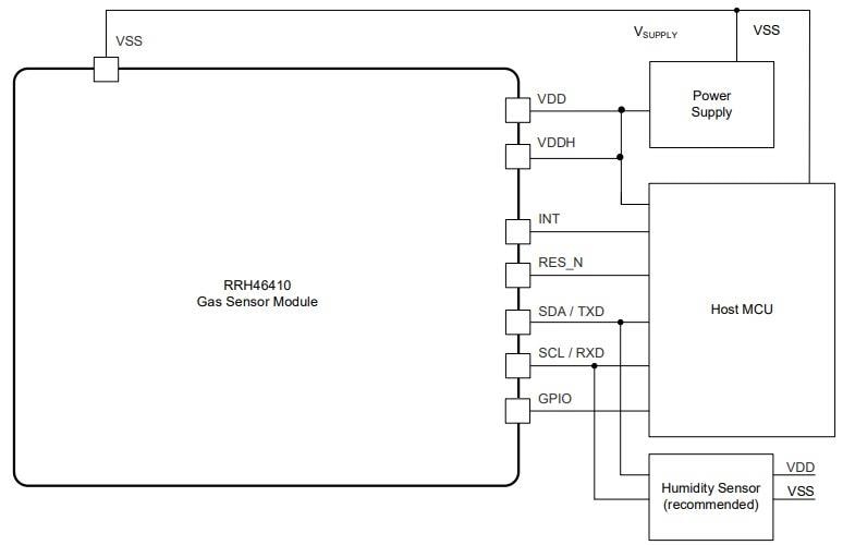
典型应用
发布日期: 2023-12-15
| 更新日期: 2024-04-22

