Renesas Electronics RZ/N1L 32位微控制器
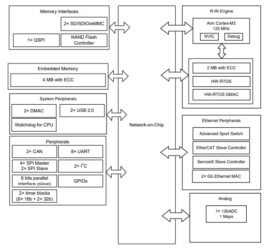
Renesas Electronics RZ/N1L 32位微控制器是基于双500MHz Arm® Cortex®-A7 CPU和Cortex®-M3 (125MHz) 的工业通信嵌入式解决方案。这些MCU具有32kHz RTC振荡器频率。RZ/N1L MCU具有片上FPU、高达6MB片上扩展SRAM(带ECC)以及扩展以太网功能(包括高级5端口以太网交换机)。这些MCU还具有独立的以太网GMAC,并支持EtherCAT®、Sercos®、Profinet®、ETHERNET Powerlink®、Ethernet/IP™、DLR、PRP和HSR。特性
- 片上32位Arm Cortex-A7 MPCore:
- 高达500MHz
- 单核或双核
- FPU、VFPv4-D16
- MMU
- 每核L1缓存16KB(指令)/16KB(数据)
- L2缓存,高达256KB
- 片上32位Arm Cortex-M3处理器:
- 高达125MHz
- 支持内存保护单元 (MPU)
- 低功耗特性:
- 时钟门控管理
- 时钟频率调节
- 片上扩展SRAM:
- 高达6MB(带ECC)
- 数据传输:
- 2个DMAC,每个有8个通道
- 存储器接口:
- 最多2个四通道SPI/XIP
- 具有高级ECC管理功能的NAND闪存
- 16位DDR接口 (DDR2-500/DDR3-1000)
- 最多2个SD/SDIO/eMMC
- R-IN引擎:
- Arm Cortex-M3 CPU
- 硬件RTOS加速器 (HW-RTOS)
- 硬件以太网加速器
- 高级实时以太网特性:
- SercosIII从控制器
- EtherCAT 3支持从控制器
- 高级5 (4 + 1) 端口交换机 (A5PSW)
- 带QoS和IEEE1588的交换机5端口
- 高达5Gbit端口
- PRP符合IEC62439-3 Ed2.0-2012标准(选项)
- 带QoS和IEEE1588的交换机5端口
- HSR符合IEC62439-3 Ed2.0-2012标准(选项)
- 多达2个独立的GMAC和IEEE1588
- 多达5个外部端口,具有MII/RMII/RGMII
其他资源
框图
发布日期: 2020-10-14
| 更新日期: 2023-05-31
