Renesas Electronics GreenPAK™ SLG4752x混合信号矩阵
Renesas Electronics GreenPAK™ SLG4752x混合信号矩阵设计用于在各种应用中实现高效的混合信号功能。这些Renesas Electronics元件具有各种电平转换器功能,可承受0.95V至1.98V和1.71V至5.5V电压。该器件在VDD1 和VDD2 域上提供通信接口,以及用于I2C引脚的可选VDD 域源。该器件尺寸紧凑,具有完全可配置的模拟和数字块,简化了混合信号项目,减小了尺寸并降低成本。此外,这些器件在所有宏单元上支持用户定义的灵活节能模式,确保最佳能效。使用直观的Go Configure软件集线器可轻松进行配置。特性
- 宽范围电平转换器功能
- 第一款连接0.95V至1.98V和1.71V至5.5V电源轨的GreenPAK产品
- 在VDD1 和VDD2 域上提供通信接口
- 用于I2C引脚的可选VDD 域源
- 小型封装和丰富的完全可配置模拟和数字块,可减小混合信号项目的尺寸并降低成本
- 灵活的用户定义的省电模式,用于所有宏单元
应用
- 个人计算机和服务器
- 计算机外设
- 消费类电子产品
- 数据通信设备
- 手持和便携式电子设备
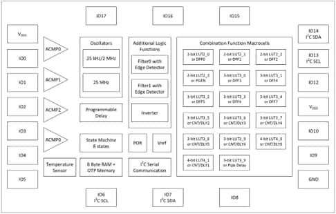
框图
发布日期: 2024-08-19
| 更新日期: 2024-10-21
