特性
- 符合AEC-Q100标准
- 传输速率:40kbps至1Mbps
- 省电模式通信
- SPLIT电压输出,用于稳定隐性总线电平
- 欠压检测功能
- 热关断 (TSD) 功能
- TXD显性超时功能(正常模式)
- CAN总线显性超时功能(待机模式)
- 总线唤醒能力
规范
- 建议工作电压范围:4.75V至5.25V
- 绝对最大额定值:-0.3V至+7.0V VCC、TXD、RXD、STB
- 绝对最大额定值:-27V至+40V CANH、CANL、SPLIT
应用
- 汽车网络用CAN通信
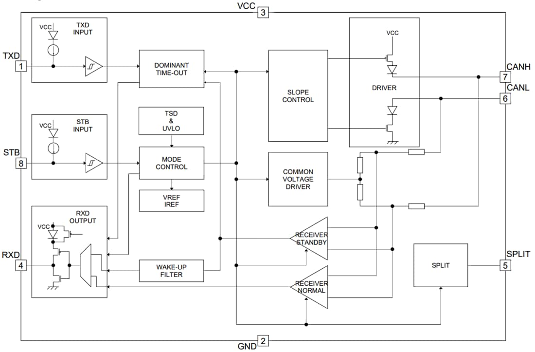
框图
发布日期: 2022-05-27
| 更新日期: 2022-05-31
