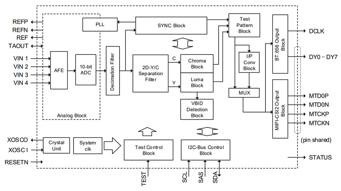
ROHM Semiconductor LAPIS ML86112的复合信号通过二维Y/C分离滤波器分离成亮度信号和色度信号,然后将这两个信号作为数字视频信号输出。视频信号采样采用内置PLL的线路锁定时钟采样法。MIPI-CSI2输出格式为YUV422 8位。低电压TTL的格式是ITU-R BT.601/BT.656 YCbCr标准数字格式。
特性
- 模拟视频解码器
- 输入格式
- NTSC-M、J、443
- PAL-B、B1、D、G、H、I、K、M、N、Nc、60
- 模拟输入端口
- 单端复合视频输入4通道
- 差分复合视频输入2通道
- 输入格式
- A/D转换器为10位ADC
- 内置振荡器缓冲器,可使用外部晶体振荡器作为参考时钟(32MHz或25MHz)
- 采样频率
- NTSC(ITU-R BT.601):27.0000MHz
- NTSC(正方形像素):24.5454MHz
- NTSC(4fsc):28.6363MHz
- PAL(ITU-R BT.601):27.0000MHz
- PAL(正方形像素):29.5000MHz
- 包括线路锁定时钟采样方法
- Y/C分离是一种自适应二维Y/C分离滤波器
- 亮度电平调节为AGC(自动增益控制)、MGC(手动增益控制)或峰值AGC
- 色阶调节为ACC(自动色彩控制)或MCC(手动色彩控制)
- 对比度调节范围为1/32至63/32之间可调,约为128
- 亮度偏移调整可在-7IRE至7IRE之间调节
- 在较高频率(亮度信号)下强调轮廓补偿
- 色调调节范围为-180°至180°
- CTI是改进的色阶变化
- 自动判断输入视频信号的方法是NTSC/PAL自动识别(在ITU-R BT.601模式和NTSC4fsc模式下)
- VBI数据检测
- NTSC制式的封闭式字幕
- 用于NTSC的CGMS
- 用于PAL的WSS
- IP转换功能是场内插值
- 时钟MIPI-CSI2 PLL使用线路锁定PLL作为参考时钟
- 数字视频输出
- MIPI-CSI2输出或LVTTL输出(BT.656)可选
- 配备MIPI-CSI2发射器(1个通道)
- 输出格式
- MIPI-CSI2 YUV422 8位
- 连续时钟运行
- 可通过外部引脚/寄存器控制停止输出(LP模式)
- LVTTL ITU-R BT.656-4(YCbCr4:2:2 8位,带同步信息)
- MIPI-CSI2 YUV422 8位
- 输出频率
- MIPI-CSI2 - 196.4M至472Mbps
- 低电压TTL
- 24.5454MHz至59MHz(单边缘时钟)
- 12.2727MHz至29.5MHz(双边缘时钟)
- 像素频率12.2727MHz至29.5MHz
- 检测功能包括输入同步检测
- STATUS输出为漏极开路输出(1.8V-3.6V外部上拉电压)
- 睡眠功能通过寄存器控制实现睡眠
- 主机接口
- I2C从机,最大400kHz
- 从机地址:80h(1000_000x)、82h(1000_001x)可选
- 电源电压
- 输入/输出部分3.3V ±0.3V
- 模拟部分(afe/ADC)3.3V ±0.3V
- MIPI-Tx部分(HS驱动器)3.3V ±0.3V
- 逻辑核心部分1.2V ±0.06V
- PLL部分1.2V ±0.06V
- MIPI-Tx部分(PLL/LP驱动器)1.2V ±0.06V
- 输入/输出部分3.3V ±0.3V
- 工作温度(环境温度):-40°C至+105°C
- 包装
- 32引脚0.5间距塑料WQFN(WQFN32-0505-0.50)
- 可湿印记、裸露PAD(背面接地)
应用
- 汽车导航
- 显示音频
- RSE(后座娱乐系统)
框图
发布日期: 2024-11-25
| 更新日期: 2024-12-31
