Toshiba TMPM4K系列 (1) 32位微控制器
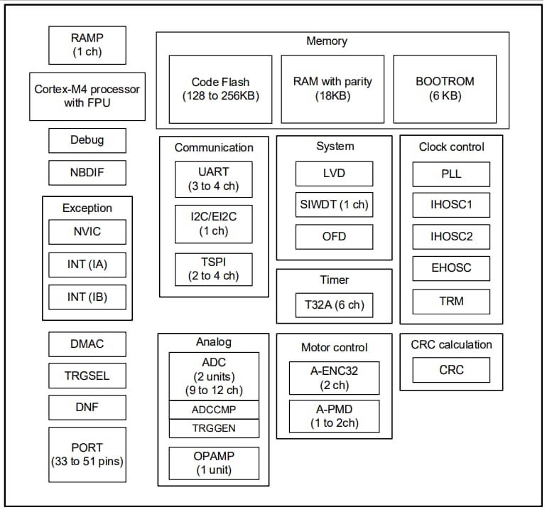
Toshiba TMPM4K系列(1)32位微控制器基于高性能Arm® Cortex®-M4处理器(带FPU)。该微控制器的工作频率范围为1MHz至120MHz,电压范围为2.7V至5.5V。TMPM4K微控制器具有自诊断功能,支持符合IEC 60730 B类和其他标准的功能安全认证。该微控制器包括编码器接口和可编程电机控制功能,可减少电机控制过程中的CPU负载。TMPM4K微控制器具有12位模数转换器 (ADC)、DMA控制器 (DMAC)、CRC计算电路 (CRC)、异步串行通信电路 (UART) 和触发选择 (TRGSEL) 电路。这款微控制器用于电机、洗衣机、冰箱和工业设备等应用。特性
- Arm® Cortex®-M4处理器(带FPU)
- 工作频率范围:1 MHz至120 MHz
- 支持内存保护单元 (MPU)
- 128KB至256KB闪存
- 工作范围
- 2.7 V 至 5.5 V 电压范围
- IDLE模式和STOP1模式低功耗模式
- 内部存储器
- 128KB至56KB代码闪存,重写频率高达100,000次
- 18KB RAM,支持奇偶校验
- 时钟
- 6MHz至24MHz(陶瓷和晶体振荡器)外部高速振荡器 (EHOSC)
- 6MHz至24MHz外部高速时钟输入 (EHCLKIN)
- 10MHz,支持用户微调内部高速振荡器 (IHOSC1)
- 120MHz PLL
- 高级可编程电机控制电路 (A-PMD)
- 1至2个通道
- 同步运行,具有三相互补PWM输出和12位ADC
- 支持三相交错PFC控制
- 通过外部输入实现紧急停止功能(EMG引脚和OVV引脚)
- 高级编码器输入电路(32位,A-ENC32)
- 2个通道
- 编码器/传感器(3种类型)/定时器/相位计数器模式
- 32位定时器事件计数器 (T32A)
- 6个通道作为32位定时器,12个通道作为16位定时器
- 间隔定时器、事件计数器、输入捕获、2相+计数、PPG输出、同步启动以及触发启动和停止
- 时钟选择看门狗定时器 (SIWDT)
- 1个通道
- 可选择系统时钟以外的时钟作为源时钟
- 透明窗口,可选择中断或重置输出
- I2C接口
- 1通道,支持多主接口I2C
- 1通道,支持多主和10位寻址I2C接口版本A(EI2C)
- 12位模数转换器 (ADC)
- 2个单元,9个至12个模拟输入
- fSCLK = 30MHz时转换时间为0.73µs
- 自诊断支持功能
- 比较每个单元的转换结果功能
- 封装
- LQFP64 10mm x 10mm,0.5mm间距
- LQFP48 7mm x 7mm,0.5mm间距
- LQFP44 10mm x 10mm,0.8mm间距
应用
- 工业
- 逆变器
- 电机设备
- 功率调节器
- 机器人
- 消费电子产品
- 空调
- 洗衣机
- 冰箱
方框图
发布日期: 2025-02-20
| 更新日期: 2025-08-28
