Texas Instruments LMH12x9 12G SDI电缆均衡器
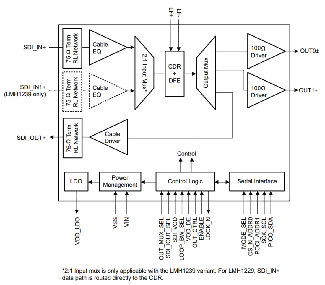
Texas Instruments LMH12x9 12G SDI电缆均衡器是具有集成时钟恢复器、双输出和75Ω环通输出的远距离自适应电缆均衡器。该器件旨在均衡通过75Ω同轴电缆传输的数据,并可在125Mbps至11.88Gbps的SMPTE数据速率范围内运行。SDI输入端的自适应均衡器可在使用12G-SDI (11.88Gbps) 的4K/8K视频应用中,自动补偿长达100m Belden 1694A电缆的信号损耗。集成时钟恢复器可减弱高频抖动并使用纯净的低抖动时钟完全重新生成数据。时钟恢复器的环路滤波器可选择用外部电容器来调节,以降低CDR环路带宽。为简化布线和方便调试,LMH12x9有一个1:3输出多路复用器。该多路复用器由两个具有VOD和去加重控制功能的100Ω扇出输出和一个75Ω环通SDI输出组成。提供了75Ω环通输出,用来扩展信号覆盖范围或实现系统级诊断。LMH12x9采用的内部集成的回波损耗网络在所有数据速率下均可满足严格的SMPTE规范要求。LMH12x9还有内部眼图张开度监视器和可编程引脚,以便进行CDR锁定指示、输入载波检测、电缆故障检测或硬件中断,从而支持系统诊断和电路板启动。
用在电缆均衡器应用中时,Texas Instruments的LMH1229与LMH1297(具有集成时钟恢复器的12G UHD-SDI双向I/O)引脚兼容。为了实现系统级冗余,LMH1239附加了集成的SDI输入多路复用器。
特性
- 带集成时钟恢复器的自适应电缆均衡器
- 支持 ST-2082-1(12 G)、ST-2081-1(6 G)、ST-424(3 G)、ST-292(HD) 和 ST-259(SD)
- 兼容DVB-ASI和AES10 (MADI)
- 集成无基准时钟恢复器锁定到以下SMPTE速率:11.88Gbps、5.94Gbps、2.97Gbps、1.485Gbps,或270Mbps 1.001分频的子速率
- 典型电缆长度 (Belden 1694A),PRBS-9模式
- 100 m (4Kp60 UHD) 时 11.88 Gbps
- 150 m (UHD) 时 5.94 Gbps
- 220 m (FHD) 时 2.97 Gbps
- 300 m (HD) 时 1.485 Gbps
- 270Mbps (SD) 时为600m
- 典型电缆长度 (Belden 1694A),病态模式
- 90 m (4Kp60 UHD) 时 11.88 Gbps
- 140 m (UHD) 时 5.94 Gbps
- 220 m (FHD) 时 2.97 Gbps
- 300 m (HD) 时 1.485 Gbps
- 270Mbps (SD) 时为600m
- 片上75Ω终端和回波损耗补偿网络
- 输入电缆均衡器和时钟恢复器特性
- 通过应力模式提高电缆长度
- 可编程CDR环路带宽设置
- 2:1 75Ω输入多路复用器(仅限LMH1239)
- 输出驱动器特性
- 具有去加重功能的1:2 100Ω扇出输出
- 具有电缆故障检测功能(最长600m)的时钟恢复型75Ω环通输出
- 内置PRBS发生器和校验器
- 内部眼图张开度监视器
- 2.5 V 单电源供电
- 低功耗:350mW(典型值)
- 省电模式:70mW
- 可通过控制引脚、SPI或SMBus接口进行配置
- 5mm × 5mm 32引脚WQFN封装
- 工作温度范围:-40°C至+85 °C
应用
- 兼容SMPTE的串行数字接口
- 广播视频路由器、交换机、分配放大器和监视器
- UHDTV/4K/8K/HDTV/SDTV视频
- 数字视频处理和编辑
视频
功能框图
发布日期: 2024-12-09
| 更新日期: 2025-01-05
