GS3241电缆均衡器具有内置宏,可快速定制横截面分析和水平/垂直眼图张开度测量。两个独立控制的迹线驱动器提供高度可配置的预加重和摆幅控制,用于补偿远距离追踪和连接器丢失。GS3241与GS12141和GS12241单输入以及GS12142双输入12G UHD-SDI多速率重定时电缆均衡器引脚兼容。
特性
- 带片上终端的75Ω电缆输入接口
- 输入/输出符合SMPTE ST 424、ST 292-1和ST 259标准
- 从1Mb/s到2.97Gb/s的多标准运行
- 除了标准的SMPTE速率,该器件还支持对速率为270Mb/s的DVB-ASI和速率为125Mb/s的MADI进行重定时
- 3D输入信号眼图监视器
- PRBS生成器和检验器
- 自动电缆均衡 - Belden 1694A电缆典型均衡电缆长度:
- 190 m 下 2.97 Gb/s
- 260 m 下 1.485 Gb/s
- 450 m(270 Mb/s和125 Mb/s)
- 电缆均衡器功能:
- 信号丢失时自动断电
- 可编程的载波检测和调节静噪阈值
- 对不兼容的来源进行可编程启动摆幅补偿
- 手动和自动电缆均衡器旁路
- 追踪驱动器功能:
- 集成式100Ω差分输出终端
- 扩展输出直流耦合支持1.2V至2.5V输出电源范围
- 追踪驱动器数据输出预加重可补偿速率为2.97Gb/s时高达60”的FR4
- 手动或自动重定时器旁路
- 信号丢失时手动或自动静音或禁用
- CDR功能:
- 手动或自动速率模式
- 宽环路带宽控制
- 按以下数据速率重定时:125Mb/s、270Mb/s、1.485Gb/s和2.97Gb/s,其中包括f/1.001速率
应用
- SMPTE ST 424接口
- SMPTE ST 292接口
- SMPTE ST 259接口
- 摄像头
- 转换开关
- 分配放大器
- 路由器
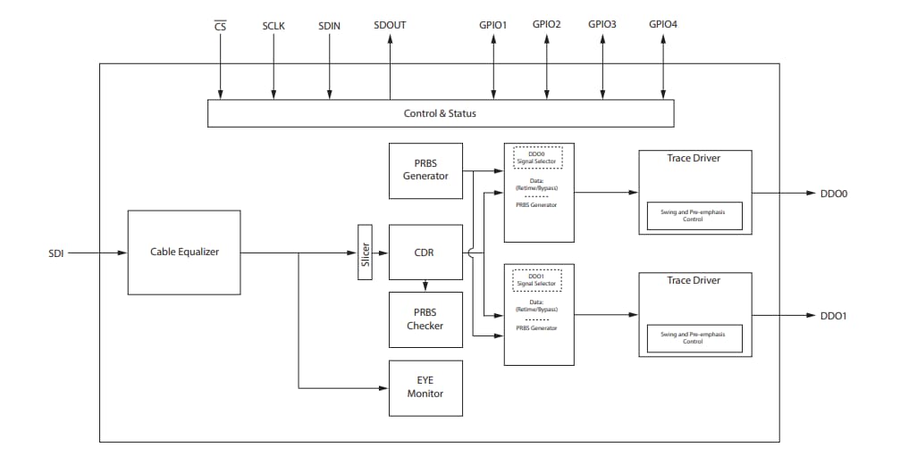
功能框图
发布日期: 2020-07-01
| 更新日期: 2024-12-05

