Semtech SX1508B & SX1509B Ultra-Low Voltage GPIOs
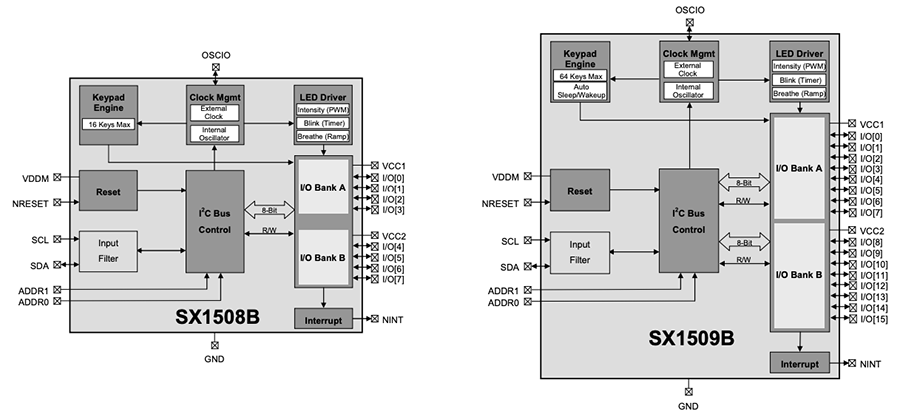
Semtech SX1508B and SX1509B Ultra-Low Voltage GPIOs are general-purpose parallel input/output expanders ideal for low-power handheld battery-powered equipment. This family of GPIOs comes in 4-, 8-, and 16-channel configuration options and allows easy serial expansion of I/O through a standard 400kHz I2C interface. These devices come with a fully programmable LED Driver with an internal oscillator for enhanced lighting control. Keypad applications are also supported with an on-chip scanning engine that enables continuous keypad monitoring up to 64 keys without any additional host interaction reducing bus activity.Features
- Low 1.2V up to 5.5V operating voltage (depending on model) with dual independent I/O rails (VCC1, VCC2) enables direct level shifting between I/O banks and host controller
- Integrated LED driver for enhanced lighting
- 256-step PWM intensity control
- 224 on/off values of blink control
- 224 fade in/out values of breathing control
- On-chip keypad scanning engine
- Support up to 8x8 matrix (64 Keys)
- Configurable input debouncer
- 4/8/16 channels of true bi-directional style I/O
- Programmable pull-up/pull-down
- Push/pull or open-drain outputs
- Programmable polarity
- 5.5V tolerant I/Os, up to 15mA output sink on all I/Os (no total sink current limit)
- Open-drain active low interrupt output (NINT)
- Bit maskable
- Programmable edge sensitivity
- Built-in clock management (internal 2MHz oscillator/external clock input, 7 clock values), OSCIO can be configured as GPO
- 400kHz I2C compatible slave interface
- 4 user-selectable I2C slave addresses
- Power-on reset and reset input (NRESET)
- Ultra-low 1µA typical current consumption
- -40°C to +85°C operating temperature range
- Up to 2kV HBM ESD protection
- Small footprint packages
- Lead-free, Halogen Free, and RoHS/WEEE compliant
Applications
- Cell phones, PDAs, and MP3 players
- Digital camera, Notebooks, and GPS Units
- Any battery powered equipment
Block Diagrams
发布日期: 2015-10-29
| 更新日期: 2023-05-23
