特性
- 符合AEC-Q100标准
- 输出电流:38A
- 受到全面保护的双通道HSD,具有MultiSense反馈功能
- 两个集成驱动器,用于外部LSD
- 3V CMOS兼容输入
- 保护特性:
- 欠压关断
- 过压钳位
- 热关断
- 负载电流限制
- 快速热瞬态的自限制(功率限制)
- 交叉电流保护
- 击穿保护
- 接地损耗和VCC损耗
- 静电放电保护
- 外部功率MOSFET的漏极和源极电压监控,可通过外部电阻进行配置(电池短路保护)
- 用于外部LSD的PWM工作频率高达20kHz
- MultiSense监测功能
- 模拟电机电流反馈
- 芯片温度监控
- 电池电压监控
- MultiSense诊断功能
- 输出对地短路检测
- 热关断指示
- 断态开路检测
- 输出短路到VCC检测
- 待机模式
- 半桥运行
- 电荷泵输出,用于反向电池保护
- 封装:ECOPACK®
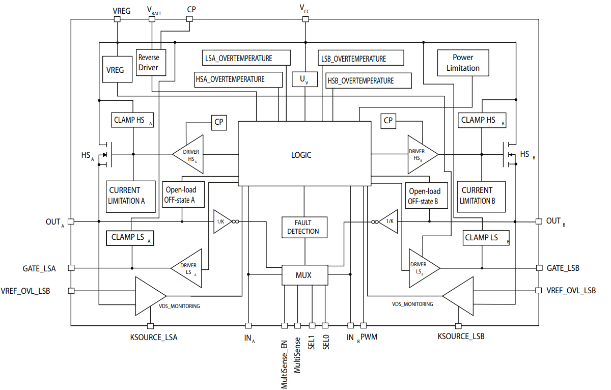
框图
发布日期: 2018-12-10
| 更新日期: 2023-02-23

