特性
- Vdemag = VCC - 45V(每通道)
- RDS(on) = 0.11Ω(每通道)
- IOUT = 0.7A(每通道)
- VCC = 45V
- 采用菊花链的SPI接口
- 5V和3.3V TTL/CMOS以及μC兼容I/O
- 公共输出使能/禁用引脚
- 电感负载的快速去磁
- 针对IC输出禁用的复位功能
- 极低电源电流
- 欠压关断,带自动重启和磁滞
- 短路保护
- 每通道过热保护
- 各通道独立散热
- 外壳过热保护
- 接地失效和电源保护
- 过压保护(VCC钳位)
- 公共故障开漏输出
- 电源良好开漏输出
- 高共模瞬态抗扰度
- ESD保护
应用
- 可编程逻辑控制
- 工业PC外设输入/输出
- 数控机床
- 适用于各类负载(阻性、容性、感性)的驱动器
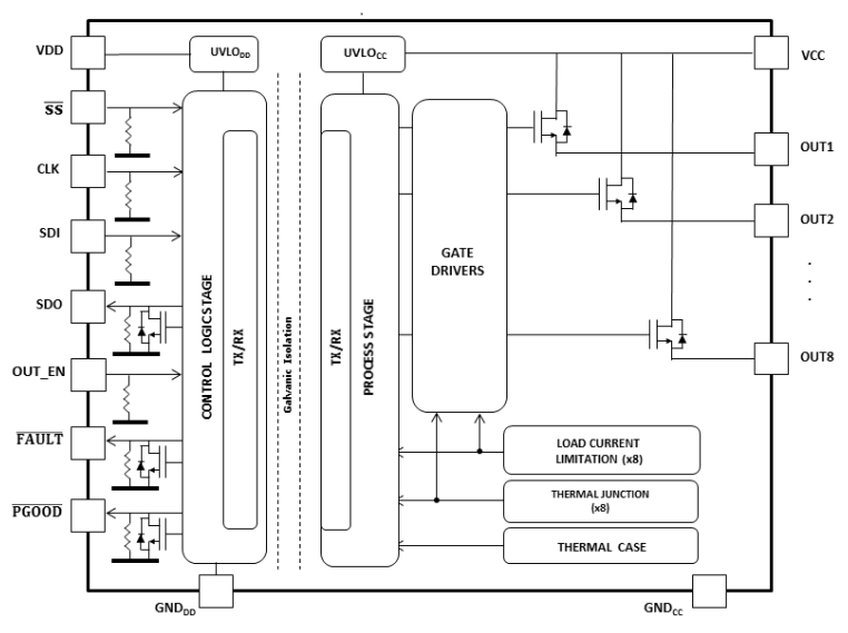
框图
视频
发布日期: 2019-04-23
| 更新日期: 2024-02-20

