STMicroelectronics LD39130S 高精度电压调节器
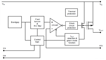
STMicroelectronics LD39130S 高精度电压调节器以 1.4V 到 5.5V 的输入电压,提供最高达 300mA 的电流,典型压差为 300mV。它有 DFN6 1.2x1.3mm 封装和超小型 CSP 4 引脚封装可供选择,以实现最大程度的空间节约。该器件通过输出上的陶瓷电容进行稳定。非常低的压降、很低的静态电流和低噪声的特性,使其非常适合低功耗电池供电应用。它集成了一块内部逻辑电路,当所需输出电流非常低时,可以让调节器工作在超低功耗模式(绿色模式)下。正常工作模式对瞬变有快速响应,当负载电流增大时即可恢复。使能逻辑功能将 LD39130S 置于关闭模式下,实现低于 0.1μA 的总电流消耗。提供电流折返和热保护。STMicroelectronics LD39130S High Accuracy Voltage Regulator is available in compact DFN6 and CSP4 packages, ideal for space-constrained applications.
特性
- 1.4V to 5.5V input voltage range
- Ultra low dropout voltage (300mV (typical) at 300mA load)
- Automatic green mode
- Very low quiescent current
- ± 1.0% at 25°C output voltage tolerance
- 300mA guaranteed output current
- A wide range of output voltages available on request
- Logic-controlled electronic shutdown
- Internal soft-start
- Compatible with ceramic capacitor COUT = 1μF
- Internal current foldback and thermal protection
- Package options
- 1.2mm x 1.3mm DFN6
- 0.69mm x 0.69mm Flip-Chip
- -40°C to +125°C operating temperature range
应用
- Smartphones
- Tablets
- Cameras
- Cordless phones and similar battery-powered systems
- Portable media players
发布日期: 2014-04-18
| 更新日期: 2024-04-23
