STMicroelectronics STMicroelectronics LSM9DS1 iNEMO 惯性模块
STMicroelectronics LSM9DS1 iNEMO 惯性模块是一款封装系统,具有一个 3D 数字线性加速传感器、一个 3D 数字角速度传感器、一个 3D 数字磁传感器。LSM9DS1 具有 ±2g/±4g/±8g 的全范围线性加速度、±4/±8/±12/±16 高斯的全范围磁场、和 ±245/±500/±2000dps 的角速度。LSM9DS1 带有一个 I2C 串行总线接口【支持标准和快速模式(100kHz 和 400kHz)】以及一个 SPI 串行标准接口。磁、加速计及陀螺仪传感都可以在掉电模式下单独进行启动或设置。LSM9DS1 采用塑料焊盘栅格阵列(LGA)封装,可确保在 -40°C 到 +85°C 的宽幅温度范围内可靠工作。特性
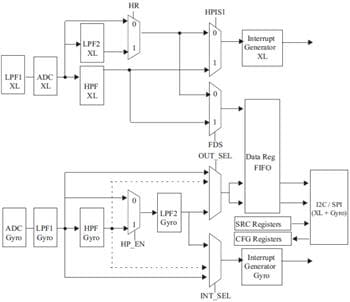
- 3 acceleration channels, 3 angular rate channels, 3 magnetic field channels
- ±2/±4/±8g linear acceleration full scale
- ±4/±8/±12/±16 gauss magnetic full scale
- ±245/±500/±2000dps angular rate full scale
- 16-bit data output
- SPI / I2C serial interfaces
- Programmable interrupt generators
- Analog supply voltage 1.9V to 3.6V
- "Always-on" eco power mode down to 1.9mA
- Embedded temperature sensor
- Embedded FIFO
- Position and motion detection functions
- Click/double-click recognition
- Intelligent power saving for handheld devices
应用
- Indoor navigation
- Smart user interfaces
- Advanced gesture recognition
- Gaming and virtual reality input devices
- Display/map orientation and browsing
The STMicroelectronics LSM9DS1 iNEMO Inertial Module is available in a plastic land grid array package (LGA) and it is guaranteed to operate over an extended temperature range from -40°C to +85°C.
发布日期: 2014-09-12
| 更新日期: 2022-03-11
