STMicroelectronics ST25R200 NFC/HF RFID读卡器IC
STMicroelectronics ST25R200 NFC/HF RFID读卡器IC采用小型4mm x 4mm 24引脚TQFN封装,具有高端性能。该读卡器IC具有高输出功率和动态功率输出(DPO),可轻松集成到小型天线应用中。ST25R200读卡器IC包括一个RC振荡器和一个可编程定时器,可在WU模式下自动扫描支持卡或其他NFC的设备。主要特性包括集成EMD处理和有源波形整形(AWS),具有过冲或下冲保护功能。该读卡器IC设有外部通信接口,即串行外设接口(SPI),数据传输速度高达10Mbit/s。ST25R200读卡器IC设计用于在2.7V至5.5V宽电源电压范围和-40°C至85°C宽环境温度范围内工作。典型应用包括美容和生活方式、品牌保护、附件识别、自动参数设置、识别、医疗保健和访问控制。
特性
- 基于电感唤醒的改进低功耗卡片检测
- 高输出功率,动态功率输出(DPO)
- 可选择连接两根独立的单端天线
- 可调ASK调制深度
- 集成EMD处理能力
- 有源波形整形(AWS),具有过冲/下冲保护功能
- 自动增益控制和静噪特性,可最大限度地提高信噪比
- 集成稳压器,可提高系统PSRR
- 测量天线特性(I/Q通道)
- 256字节FIFO
规范
- 数据传输速度高达10Mbit/s的串行外设接口(SPI)
- 天线驱动器电压范围:高达6VP
- 宽电源电压范围:2.7 V至5.5 V
- 宽环境温度范围:-40°C至85°C
- 4mmx4mm 24引脚TQFN封装
应用
- 保健
- 门禁控制
- 美容和生活方式
- 厨房和家用电器
- 游戏和教育
- 家居自动化和娱乐
- 工业和工具
- IoT
- 品牌保护
- 配件识别
- 自动参数设置
- 标识
- 计量
- 运输和票务
- 用户互动和消费者参与
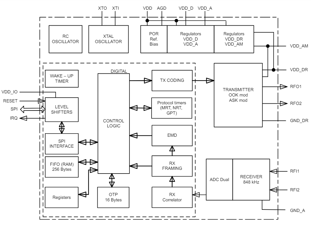
框图
引脚和信号描述
发布日期: 2024-06-26
| 更新日期: 2024-11-20
