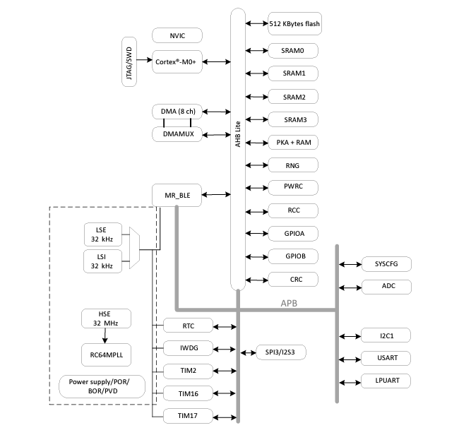
STM32WB09集成了工作频率高达64MHz的Arm® Cortex®-M0+微处理器和用于BLE时序关键型操作的无线电内核协处理器(基于DMA)。此外,STM32WB09通过专用硬件功能提供增强的安全硬件支持:支持NIST特别出版物800-90B的真随机数发生器(TRNG)、用于128位AES加密的安全协处理器、CRC计算单元、64位唯一ID、闪存读写保护以及公钥加速器 (PKA)。
STM32WB09可配置为支持独立或网络处理器应用。在第一种配置中,STM32WB09作为运行应用程序代码和BLE堆栈的单个器件运行。STM32WB09嵌入以下高速存储器类型:512Kb闪存、64Kb RAM、1Kb一次性可编程 (OTP) 存储器区域和7Kb ROM(ST保留区域)。八个DMA通道支持内存和外设之间以及内存到内存之间的直接数据传输,并且DMAMUX外设支持完全灵活的通道映射。
STM32WB09内置一个12位ADC,可测量多达八个外部源和三个内部源,包括电池监控和一个温度传感器。STM32WB09具有一个低功耗RTC和一个高级16位定时器。STM32WB09具有标准和高级通信接口:1个SPI-I2 、LPUART、1个支持ISO 7816(智能卡模式)、IrDA和Modbus模式的USART、2个支持SMBus/PMBus的I2C。
STM32WB09的工作温度范围为-40°C至+105°C (+125°C结温),电源电压范围为1.7V至3.6V。一组完整的节电模式,有助于配置低功耗应用。STM32WB09集成了高效SMPS降压转换器和具有固定阈值的集成PDR电路,可在VDD 降至1.65V以下时产生器件复位。STM32WB09采用VFQFPN32和WLCSP36封装,支持多达20个I/O。
特性
- 包括ST先进的专利技术
- 蓝牙低功耗片上系统,支持蓝牙5.4规范
- 2Mbit/s 数据速率:
- 远距离(编码PHY)
- 通告扩展
- 通道选择算法#2
- GATT缓存
- 测向-到达角 (AoA)/出发角 (AoD)
- 同步连接
- 并发链路层角色
- 低功耗数据包长度扩展
- 低功耗ping程序
- 定期广告和定期广告同步传输
- 定期广告,带响应
- 广告编码选择
- 加密广告
- 低功耗L2CAP连接导向通道
- 低功耗功率控制和路径损耗监控
- 低功耗通道分类
- 增强型ATT (EATT)
- 连接降额
- 广播同步流 (BIS)
- 连接同步流 (CIS)
- Radio
- 接收灵敏度等级:1Mb/s时为-97dBm,125Kb/s时为-104dBm(远距离)
- 高达+8dBm的可编程输出功率(天线连接器处)128个物理连接
- 数据速率支持2Mb/s、1Mb/s、500Kb/s和125Kbt/s
- 集成平衡-不平衡变换器
- 支持外部PA和LNA
- BlueNRG内核协处理器(基于DMA),用于蓝牙低功耗时间关键型操作
- 2.4GHz专有无线电驱动器
- 适合需要兼容下列无线电频率规范的系统:ETSI EN 300 328、EN 300 440、FCC CFR47第15部分、ARIB STD-T66
- 可提供集成无源器件 (IPD) 配套芯片,用于优化匹配和滤波
- 超低功耗无线电性能
- 关断模式下为12nA (1.8V)
- Deepstop模式下为0.9µA(外部LSE、无线电唤醒源和RAM保留,1.8V)
- Deepstop模式下为1.2µA(内部LSI、无线电唤醒源和RAM保留,1.8V)
- 发射端峰值电流:4.9mA(0dBm、3.3V时)
- 接收端峰值电流:3.6mA(灵敏度等级,3.3V)
- 高性能、超低功耗32位Arm Cortex-M0+,运行频率高达64MHz
- 工作电源电压:1.7 V至3.6 V
- 增强的安全机制,例如:
- 闪存读/写保护
- SWD禁用
- 安全的引导加载程序
- 动态电流消耗:14.47μA/Mhz
- 温度范围:-40°C至105°C
- 电源和重置管理
- 高效嵌入式SMPS降压转换器,设有智能旁路模式
- 超低功耗上电复位 (POR) 和掉电复位 (PDR)
- 可编程电压检测器 (PVD)
- 时钟源
- 64MHz PLL
- 故障安全32MHz晶体振荡器,带集成微调电容器
- 32kHz晶体振荡器
- 内部低功耗32kHz RO
- 512Kb的片上非易失性闪存,具有页保护功能,防止读写
- 64Kb的片上RAM和4Kb PKA RAM
- 一次性可编程(OTP)内存区域:1KB
- 嵌入式UART引导加载程序
- 超低功耗模式,带有或不带定时器和RAM保持
- 正交解码器
- 安全特性
- 真随机数发生器 (TRNG),符合NIST特别出版物800B-90B
- 硬件加密AES最高128位安全协处理器
- 硬件公钥加速器 (PKA)
- 加密算法:RSA、Diffie-Helman、ECC over GF(p)
- CRC计算单元
- 64位唯一ID
- 系统外设
- 1个DMA控制器,具有8个通道,支持ADC、SPI、I2C、USART、LPUART、定时器
- 1个SPI,带I2S接口多路复用
- 1个I2C (SMBus/PMBus)
- 1个LPUART(低功耗)
- 1个USART(ISO 7816智能卡模式、IrDA、SPI Master和Modbus)
- 1个独立WDG
- 1个实时时钟 (RTC)
- 1个独立SysTick
- 1个16位、四通道通用定时器
- 2个16位双通道通用定时器
- 红外接口
- 多达20个快速V/O
- 所有这些器件均具有唤醒功能
- 所有这些器件均可在低功耗模式下保持状态
- 它们均可耐受5V电压
- 模拟外设
- 12位ADC,具有8个输入通道,高达16位,带下采样器
- 电池监视
- 模拟看门狗
- 开发支持
- 串行线调试 (SWD)
- 4个断点和2个监视点
- 所有封装均符合ECOPACK2标准
应用
- 工业
- 家庭和工业自动化
- 资产跟踪、ID定位和实时定位系统
- 智能照明
- 辅助生活
- 健身、健康和运动
- 保健和消费类医疗
- 安保/接近传感
- 远程控制
- 移动电话外围设备
- PC外设
电路图
方框图

