STMicro ST25R300 NFC读卡器支持快速EMVCo认证周期(即使在苛刻的条件下),天线位于嘈杂的LCD后面。该器件包括一个高级模拟前端 (AFE) 和一个高度集成的数据组帧系统,用于读卡器NFC A/B (ISO14443A/B,包括更高比特率)、NFC-F (FeliCover™)、高达212 kbps的NFC-V (ISO15693) 以及NFC-A/NFC-F卡仿真。AFE和框架系统的特殊低电平模式可以在读卡器或卡仿真操作中执行其他定制协议。该器件具有高射频 (RF) 功率和动态功率输出,可直接高效地驱动天线。即使使用门禁控制中的小天线尺寸和EMVCo读取器,读卡器也能实现较大的交互距离。该器件通过测量I和Q通道来提供远距离和低功耗卡检测,代表天线信号的真实和想象部分。这种方法可最大限度降低功耗。
ST25R300设计用于在2.7 V至6.0 V宽电源电压范围内工作,环境温度范围为-40 °C至+105 °C,外设I/O电压范围宽1.65 V至5.5 V)。该器件将高射频输出功率、低功耗模式和宽电源范围相结合,非常适合用于所有NFC应用。
特性
- 工作模式
- 读卡器/写卡器
- 卡仿真
- 射频通信-读卡器/写卡器
- EMVCo PCD 3.2a模拟和数字兼容
- NFC-A/ISO/IEC 14443 A,高达848kb/s
- NFC-B/ISO/IEC 14443 B,高达848kb/s
- NFC-V/ISO/IEC 15693,高达212kb/s
- NFC-F/FeliCa高达424kb/s
- 低电平模式,可实施符合MIFARE Classic®标准和其他定制协议(Kovio BC、CTS、B')
- 电气特性
- 宽电源电压范围:2.7 V至6.0 V
- 宽外设通信电源范围:1.65 V至5.5 V
- 宽环境温度范围:-40 °C至+105 °C
- 石英振荡器能够搭配27.12 MHz晶体工作,具有快速启动功能
- 射频通信-卡仿真
- NFC-A/ISO/IEC 14443 A 106kb/s
- NFC-F/FeliCa 212kbit/424kb/s
- 主要特性
- 无源P2P模式
- NFC Forum标准通用器件
- USI WLC读卡器器件
- 低功耗电感式卡片检测
- 带基带通道求和的I/Q解调器
- 动态功率输出 (DPO) 控制磁场强度,以保持在给定限值内(软件特性)
- 有源波形整形 (AWS) 可减少过冲和下冲
- 噪声抑制接收器 (NSR) 支持在嘈杂环境中接收
- 串行外设接口 (SPI) 高达10Mb/s
- 可以驱动一根差分或两根独立的单端天线
应用
- EMVCo PCD 3.2a兼容非接触式支付端子
- 门禁控制
- 符合NFC Forum标准的NFC通用器件
- WPC Qi带外 (OOB) 通信和卡保护NFC读卡器
- NFC无线充电 (WLC) 轮询器
- WPC Ki功率发射器 (PTx) 通信单元
- 符合ISO/IEC 14443和ISO15693标准的通用NFC器件
- FeliCa读卡器/写卡器
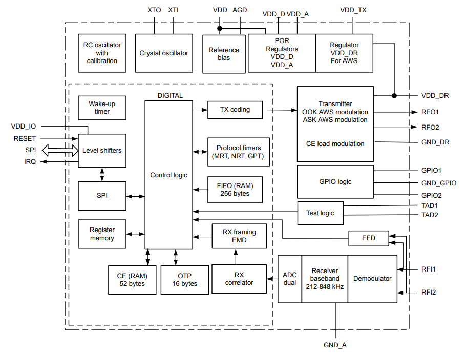
框图
系统示意图
发布日期: 2025-04-17
| 更新日期: 2025-09-05

