STMicroelectronics ST60A3H1 V波段连接收发器
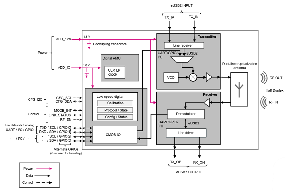
STMicroelectronics ST60A3H1 V波段连接收发器是一款射频毫米波收发器产品,集成双线性极化天线,工作于60GHz V波段(60GHz至61GHz)。ST60A3H1具有微型化外形、低功耗运行特性及优化的物料清单(BOM)。ST60A3H1是一款高速射频收发器,兼容eUSB2、UART和I2C协议。该收发器模块还包含通用输入/输出接口(GPIO),可用于隧道模式。凭借其紧凑尺寸、低功耗、易用性以及专为优化系统物料清单而设计的创新型架构,STMicroelectronics ST60A3H1器件能够满足各类应用的需求。特性
- 60GHz V波段收发器,用于短距离非接触式连接,速率可达480Mbit/s
- 紧凑型解决方案,集成完整的射频收发器和双线性极化天线,工作于半双工模式
- 射频工作带宽:60GHz至61GHz
- 典型总链路预算为42dB,自由空间传播损耗可达5cm
- 通过RF隧道方式传输eUSB2、UART、GPIO或I2C信号
- 物料清单经优化,无需外部匹配网络和时钟参考
- 1.8 V 单电源供电
- 低功耗(典型值)
- eUSB2 Rx/Tx - 110/130mW
- UART/GPIO/I2C - 90mW
- 待机 - 23μW
- 射频链路一端可使用参考时钟,以满足特定地区的法规要求
- 封装:VFBGA 2.9mmx4.1mmx0.8mm,23焊球,间距为0.4mm
应用
- 非接触式测试工厂自动化与售后服务
- 固件远程更新(FOTA)
- 非接触式数据采集
- 耐用型、无开孔个人设备
- 非接触式配件
- 非接触式个人设备对接中心和数据传输
- 工业非接触式连接器
- 板对板连接与柔性电缆替代方案
方框图
发布日期: 2024-02-26
| 更新日期: 2025-12-10
