STMicroelectronics STM32WBA5多协议无线无线电MCU
STMicroelectronics STM32WBA5多协议无线无线电MCU已通过蓝牙®低功耗5.4协议认证,使非专业开发人员能够以实惠的价格轻松地为设备添加无线通信功能。基于采用TrustZone®技术的Arm® Cortex®-M33内核,STM32WBA系列提供高水平的安全性,保护数据和知识产权,防止黑客攻击或设备克隆。STM32WBA无线MCU嵌入了1MB闪存和128Kb RAM,分别采用QFN48和QFN32封装。利用STM32U5架构,STM32WBA组件提供了一个超低功耗平台和内在数字/模拟外设,适用于从工业到智能家居和消费电子市场等众多应用。特性
- ST先进的专利技术
- 超低功耗无线电
- 2.4 GHz 的
- 支持蓝牙5.3规范的射频收发器
- 专有协议
- -96dBm接收灵敏度(1Mbps,蓝牙低功耗)
- 可编程输出功率:高达+10 dBm(步长1 dB级)
- 集成式平衡-不平衡转换器,减少物料清单
- 支持1Mbps
- 适合需要兼容下列无线电频率规范的系统:ETSI EN 300 328、EN 300 440、FCC CFR47第15部分、ARIB STD-T66
- 超低功耗平台
- 电源:1.71V至3.6V
- 温度范围:-40°C至+85°C
- 带DMA的自主外设,功能可降至停止1模式
- 140nA 待机模式(16个唤醒引脚)
- 带RTC的200nA待机模式
- 2.4µA待机模式,具有64KB SRAM
- 16.3µA停止模式,具有64KB SRAM
- 45μA/Mhz运行模式(3.3V时)
- 无线电:Rx 7.4 mA / Tx(0 dBm 10.6 mA时)
- Arm® 32位Cortex®-M33 CPU,带TrustZone®、MPU、DSP和FPU
- ART Accelerator™具有8Kbyte指令缓存,允许从闪存执行0等待状态(频率高达100MHz,150DMIPS)
- 使用支持电压调节的嵌入式LDO稳压器进行电源管理
- 基准
- 1.5DMIPS/MHz (Drystone 2.1)
- 407 CoreMark® (4.07 CoreMark/MHz)
- 时钟源
- 32MHz晶体振荡器
- 32kHz晶体振荡器 (LSE)
- 内部低功耗32kHz (±5%) RC
- 内部 16MHz 厂家调整 RC (±1%)
- 用于系统时钟和ADC的PLL
- 存储器
- 带ECC的1MB闪存,包括256kB,100x周期
- 128KB SRAM,其中64KB带奇偶校验
- 512字节(32行)OTP
- 丰富的模拟外设(独立电源)、12位ADC 2.5Msps,带硬件过采样
- 通信外设
- 3个UART(ISO 7816、IrDA、调制解调器)
- 2个SPI
- 2个I2C Fm+ (1Mbit/s)、SMBus/PmBus®
- 系统外设
- 触摸传感控制器,最多20个传感器,支持触摸键、线性和旋转触摸传感器
- 1个16位高级电机控制定时器
- 3个16位定时器
- 1个32位定时器
- 2个低功耗16位定时器(在停止模式下可用)
- 2个Systick定时器
- 2个看门狗
- 8通道DMA控制器,在停止模式下工作
- 安全和加密
- Arm® TrustZone®和安全I/O、内存和外设
- 灵活的生命周期方案,具有RDP和密码保护调试功能
- 独特的启动入口和安全隐藏保护区 (HDP) 带来信任根
- 得益于嵌入式RSS(根安全服务)的SFI(安全固件安装)
- 使用根硬件唯一密钥 (RHUK) 保护数据存储
- 安全固件升级支持,带TF-M
- 2个AES协处理器,其中1个具有DPA抗性
- 公钥加速器,抗DPA
- HASH硬件加速器
- 真随机数发生器,符合NIST SP800-90B标准
- 96位唯一ID
- 主动篡改
- CRC计算单元
- 多达35个I/O(其中大部分可承受5V),具有中断功能
- 串行线调试 (SWD) 和JTAG开发支持
- STM32WBA54/55
- 多协议灵活性(BLE 5.4认证,包括音频、Zigbee、OpenThread/Matter、802.15.4)
- SESIP三级认证
应用
- 电动工具
- 健康
- 健身
- 医疗和保健
- 家居自动化
- 工业
- 智能家居
视频
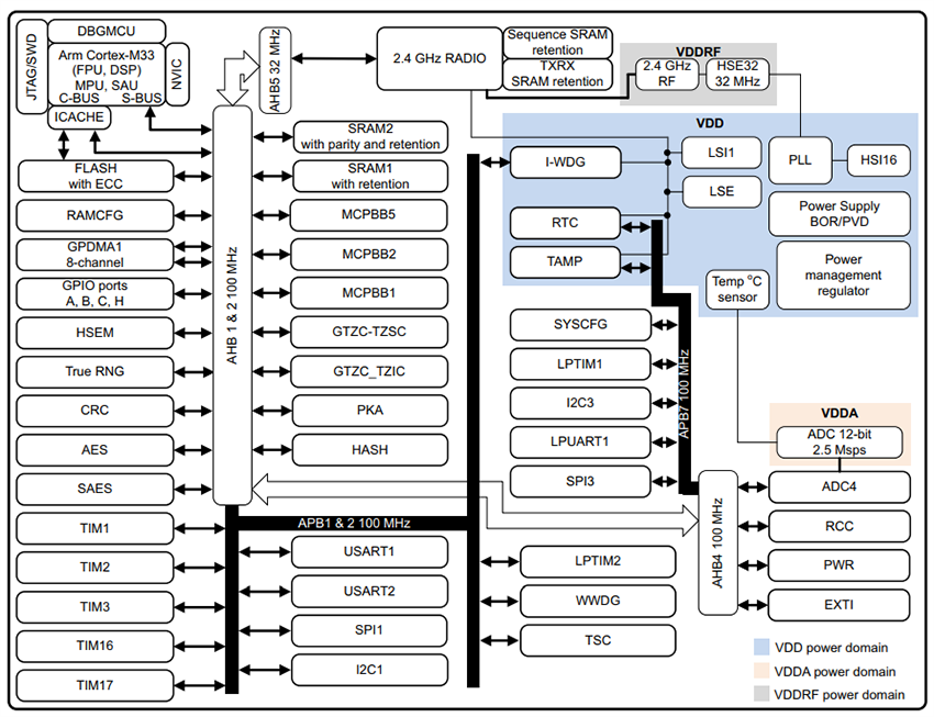
框图
信息图
内容流
发布日期: 2023-02-23
| 更新日期: 2026-02-17
