Texas Instruments ADC3244E 14位模数转换器
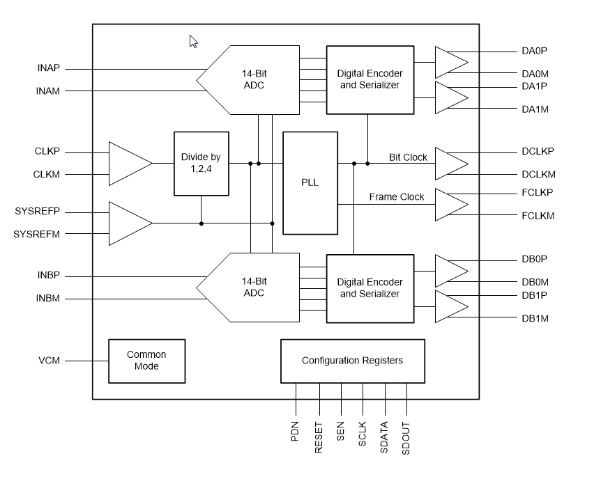
Texas Instruments ADC3244E 14位模数转换器是一款高线性度、超低功耗、双通道、14 位、25MSPS至125MSPS模数转换器。ADC3244E专门设计用于支持具有宽动态范围需求且要求苛刻的高输入频率信号。ADC3244E支持串行、低压、差分信令 (LVDS),从而减少接口线路的数量,实现高系统集成密度。可对每个ADC的数据进行串行并通过两对LVDS输出。该器件采用内部锁相环 (PLL),可将传入的ADC采样时钟加倍,以获得串行输出各通道的14位输出数据时所使用的位时钟。数据帧、位时钟、串行数据流作为LVDS输出进行传送。该器件采用输入时钟分频器,可使系统时钟结构的设计更灵活。另外,SYSREF输入可实现完整的系统同步。特性
- 双通道
- 14位分辨率
- 单电源供电:1.8V
- 串行LVDS接口 (SLVDS)
- 支持1分频、2分频和4分频的灵活输入时钟缓冲器
- SNR = 72.4dBFS、SFDR = 87dBc (fIN = 70MHz)
- 超低功耗:125MSPS时每通道116mW
- 信道隔离度:105dB
- 内部抖动和斩波
- 支持多芯片同步
- 与12位版本器件引脚到引脚兼容
- 封装:VQFN-48 (7mm × 7mm)
- 扩展温度范围:-50°C至+105°C
应用
- 多载波、多模式蜂窝基站
- 雷达和智能天线阵列
- 炮弹制导
- 电机控制反馈
- 网络和矢量分析
- 通信测试设备
- 无损检测
- 微波接收器
- 软件无线电 (SDR)
- 正交和分集无线电接收器
- 手持无线电和仪器仪表
框图
发布日期: 2019-03-20
| 更新日期: 2023-08-07
