Texas Instruments ADC32J2x 12 位模数转换器(ADC)
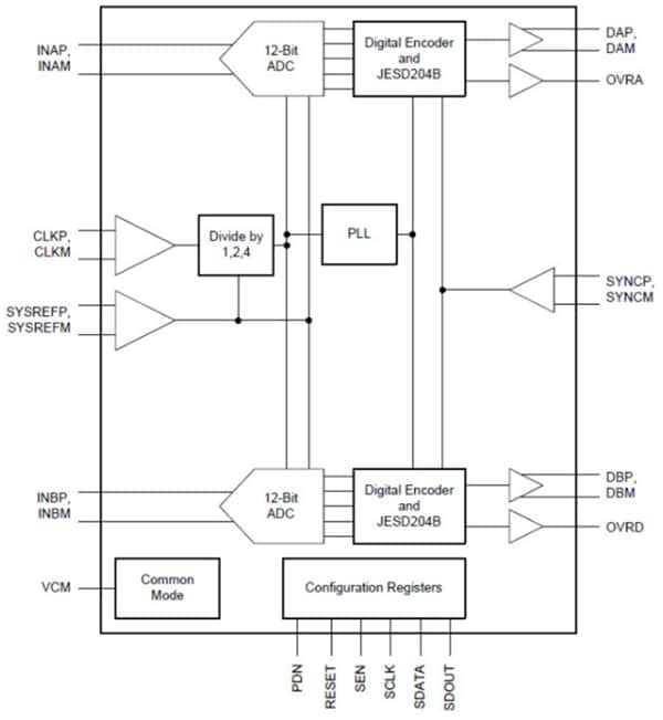
德州仪器 ADC32J2x 12 位模数转换器(ADC)属于高线性、超低功耗、双通道、50MSPS 到 160MSPS 模数转换器系列。这些器件专门设计用于支持具有宽动态范围需求且要求苛刻的高输入频率信号。采用时钟输入分频器,可使系统时钟结构的设计更灵活。这些器件支持 JESD204B 接口,从而减少接口线路的数量,同时实现高系统集成度。JESD204B 接口是串行接口,仅通过一个差分对即可串行输出每个模数转换器的数据。内部锁相环(PLL)会将传入的 ADC 采样时钟乘以 20,以获得串行输出各通道的 12 位数据时所使用的位时钟。这些器件支持子类 1,接口速率高达 3.2Gbps。特性
- Dual channel
- 12-bit resolution
- Single 1.8V supply
- Flexible input clock buffer with divide-by-1, 2, and 4
- SNR = 70.3dBFS, SFDR = 88dBc at fIN = 70MHz
- Ultra-low power consumption:
- 227mW/Ch @ 160MSPS
- Channel isolation: 105dB
- Internal dither
- JESD204B serial interface:
- Subclass 0, 1, and 2 compliant up to 3.2Gbps
- Supports one lane per ADC up to 160MSPS
- Support for multichip synchronization
- Pin-to-Pin compatible with 14-bit version (ADC32J4X)
- VQFN-48 (7mm x 7mm) package
应用
- Multi-carrier, multi-mode cellular base stations
- Radar and smart antenna arrays
- Munitions guidance
- Motor control feedback
- Network and vector analyzers
- Communications test equipment
- Nondestructive testing
- Microwave receivers
- Software Defined Radios (SDRS)
- Quadrature and diversity radio receivers
Functional Block Diagram
TI Reference Design Tools
发布日期: 2015-09-11
| 更新日期: 2025-06-25
