Texas Instruments ADC34J4x 14 位模数转换器(ADC)
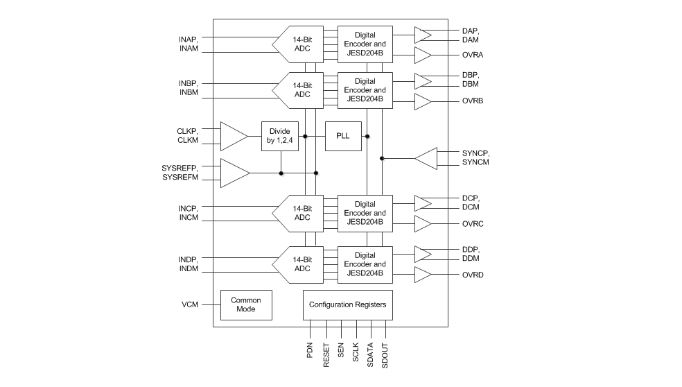
德州仪器 ADC34J4x 位模数转换器是高线性度、超低功率、四通道、14 位、50MSPS 到 160MSPS 模数转换器(ADC)。这些器件专门设计用于支持具有宽动态范围需求且要求苛刻的高输入频率信号。当 SYSREF 输入实现整个系统同步时,时钟输入分频器将给予系统时钟架构更高的设计灵活性。ADC34J4x 系列支持串行电流模式逻辑(CML) 和 JESD204B 接口,从而减少了接口线路的数量,实现高系统集成度。JESD204B 接口是串行接口,仅通过一个差分对即可串行输出每个 ADC 的数据。内部锁相环 (PLL) 会将传入的 ADC 采样时钟乘以 20,以获得串行输出各通道的 14 位数据时所使用的位时钟。ADC34J4x 器件支持子类 1,接口速率高达 3.2Gbps。The Texas Instruments ADC34J4x family supports serial current-mode logic (CML) and JESD204B interfaces in order to reduce the number of interface lines, thus allowing high system integration density. The JESD204B interface is a serial interface, where the data of each ADC is serialized and output over only one differential pair. An internal phase-locked loop (PLL) multiplies the incoming ADC sampling clock by 20 to derive the bit clock that is used to serialize the 14-bit data from each channel. The ADC34J4x devices support subclass 1 with interface speeds up to 3.2Gbps.
特性
- Quad channel
- 14-Bit resolution
- Single 1.8V supply
- Flexible input clock buffer with divide-by-1, -2, -4
- SNR = 72dBFS, SFDR = 86dBc at fIN = 70MHz
- Ultra-low power consumption
- 203mW/Ch at 160MSPS
- 105dB channel isolation
- Internal dither
- JESD204B serial interface
- Supports subclass 0, 1, 2
- Supports one lane per ADC up to 160MSPS
- Support for multi-chip synchronization
- Pin-to-pin compatible with 12-bit version
- VQFN-48 (7mm × 7mm) package
应用
- Multi-carrier, multi-mode cellular base stations
- Radar and smart antenna arrays
- Munitions guidance
- Motor control feedback
- Network and vector analyzers
- Communications test equipment
- Nondestructive testing
- Microwave receivers
- Software-Defined Radios (SDRs)
- Quadrature and diversity radio receivers
视频
Block Diagram
发布日期: 2014-11-04
| 更新日期: 2025-06-23
