该器件具有0.125至128的可编程增益(对应于±20V至±20mV的等效输入范围),因此无需外部衰减器或外部增益级。ADS125H0x ADC具有低噪声和低漂移性能,可直接连接桥式电阻温度检测器 (RTD) 和热电偶传感器。
数字滤波器针对≤50SPS或60SPS的数据速率衰减50Hz和60Hz线路周期噪声时,测量误差会降低。滤波器还可针对通道排序期间的高数据吞吐量提供无延迟转换数据。ADS125H01和ADS125H02引脚兼容,额定工作温度范围为–40°C至+125°C。
特性
- ±20V输入、24位Δ-Σ ADC
- 可编程数据速率:2.5SPS至40kSPS
- 高电压、高阻抗PGA:
- 差分输入范围:高达±20V
- 可编程增益:0.125至128
- 共模输入电压:高达±15.5V
- 输入阻抗:1GΩ(最小值)
- 高性能ADC:
- 输入噪声:45nVRMS (20SPS)
- CMRR:105dB
- 50Hz、60Hz时的正常模式抑制:95dB
- 失调漂移:5nV/℃
- 增益漂移:1ppm/℃
- INL:2ppm
- 集成特性和诊断:
- 2.5V基准:3ppm/°C漂移
- 时钟振荡器:2.5%误差(最大值)
- 激励电流源 (ADS125H02)
- 用于驱动外部多路复用器的GPIO (ADS125H02)
- 信号和基准电压监控器
- 循环冗余校验 (CRC)
- 电源:
- AVDD:4.75V至5.25V
- DVDD:2.7V至5.25V
- HVDD:±5V至±18V
- 工作温度范围:-40°C至+125°C
- 5mm × 5mm VQFN封装
应用
- PLC模拟输入模块:
- 电压(例如±10V或0V至5V)
- 电流(例如4mA至20mA,带分流器)
- 温度(例如RTD、热电偶)
- 测试与测量:
- 高共模电压输入
- 电池测试
- 高侧电流测量
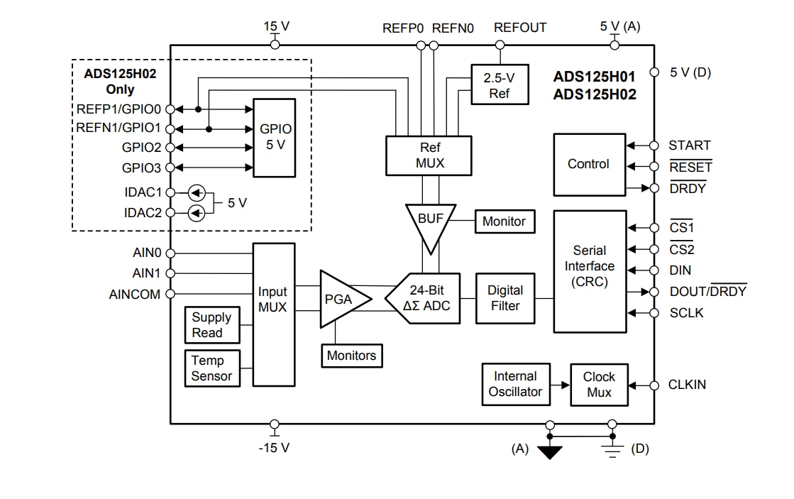
框图
发布日期: 2019-05-15
| 更新日期: 2023-09-11

