Texas Instruments ADS131A0x 模拟前端 IC
Texas Instruments ADS131A0x 模拟前端 IC 是四通道、同时采样、24 位 Δ-Σ 模数转换器 (ADC)。 宽动态范围、可扩展的数据速率以及内部故障监控器使其非常适合能量监控、保护和控制应用。 ADC 输入可单独与电阻分压器网络直接连接,可通过变压器测量电压或电流,或者通过罗戈夫斯基线圈测量电流。 灵活的电源选项(包括内部负电荷泵)可用,最大限度增加有效位数 (ENOB),非常适合宽动态范围应用。 这些器件支持的数据速率最高可达 128kSPS。 完整的模拟前端 (AFE) 解决方案采用 32 引脚 TQFP 封装,其额定工业温度范围为 -40°C 至 +125°C。特性
- 2 or 4 simultaneously-sampling differential inputs
- Data rates up to 128kSPS
- Noise performance
- Single-channel accuracy better than 0.1% at 10,000:1 dynamic range
- ENOB (19.1 bits at 8kSPS)
- THD (–100dB at 50Hz and 60Hz)
- An integrated negative charge pump
- Flexible analog power-supply operation
- 3.0V to 3.45V using a negative charge pump
- 3.3V to 5.5V unipolar aupply
- ±2.5V bipolar supply
- 1.65V to 3.6V digital supply
- 4ppm/°C low-drift internal voltage reference
- ADC self-checks
- Cyclic Redundancy Check (CRC) and hamming code error correction on communications
- Multiple SPI™ data interface modes
- Asynchronous interrupt
- Synchronous master and slave
- 32-pin TQFP package
- Operating temperature range
- –40°C to +125°C
应用
- Industrial power applications
- Single-phase and polyphase energy monitoring
- Protection relays, circuit breakers
- Power quality meters
- Data acquisition systems
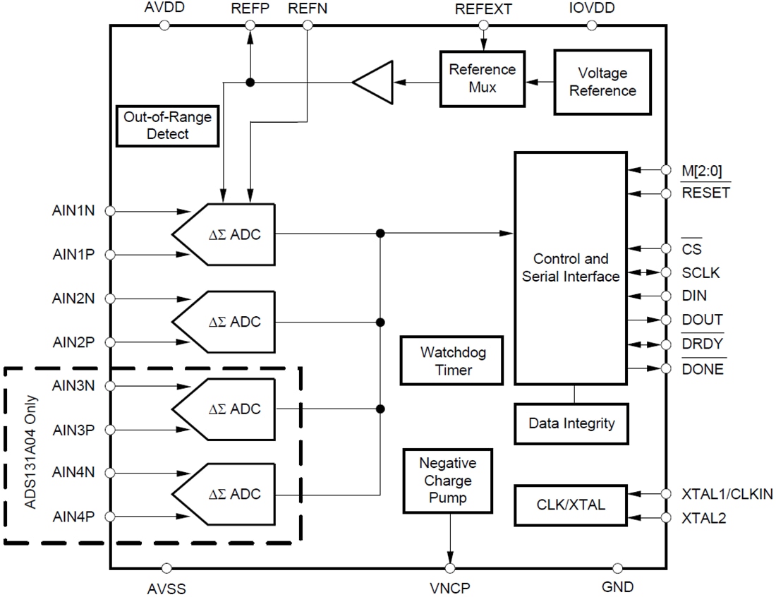
Functional Block Diagram
发布日期: 2016-05-24
| 更新日期: 2022-03-11
