Texas Instruments ADS7142可编程传感器监控器
Texas Instruments ADS7142毫微功耗、双通道、可编程传感器监控器用于优化系统功耗、可靠性和性能。ADS7142是一款独立的毫微功耗传感器监控器,外形小巧,非常适合用于成本敏感型设计。该器件具有高效的主机休眠和唤醒功能,自主监控信号时的功耗为900nW。ADS7142可使用带有可编程高低阈值、迟滞和事件计数器的数字窗口比较器根据通道实施由事件引发的中断。该传感器监控器在逐次逼近寄存器模数转换器 (SAR ADC) 前方包含一个双通道模拟多路复用器, 后跟一个用于以一次性模式转换和捕获传感器数据的内部数据缓冲器。通过用于实现16位精度的高精度模式、用于故障诊断的数据缓冲,以及用于快速数据捕获的一次性模式,可实现深入的数据分析。ADS7142具有1.65V至3.6V的较宽工作电压范围,采用10引脚QFN封装。该器件体积小巧、功耗低,非常适合空间受限型和/或电池供电类应用。Data analysis runs deep with 16-bit accuracy in high-precision mode, buffering for fault diagnostics, and one-shot mode for fast data capture. The ADS7142/ADS7142-Q1 provides a wide operating range of 1.65V to 3.6V and is available in a 10-pin QFN package. This device is excellent for space-constrained and/or battery-powered applications due to its small form factor and low power consumption. The Texas Instruments ADS7142-Q1 devices are AEC-Q100 qualified for automotive applications.
特性
- 高效的主机睡眠和唤醒
- 自主监控功耗为 900nW
- 用于事件触发主机唤醒的窗口比较器
- 主机睡眠期间数据缓冲
- 独立的传感器配置和校准
- 双通道、伪差分或接地检测输入配置
- 用于校准的可编程阈值
- 内部校准改善了偏移和漂移
- 错误触发防护
- 每个通道的可编程阈值
- 用于实现抗噪性能的可编程迟滞
- 用于瞬态抑制的事件计数器
- 适用于成本敏感型设计的独立的毫微功耗传感器监控器
- 小封装尺寸:1.5mm × 2mm
- 深入的数据分析
- 用于故障诊断的数据缓冲
- 用于实现16位精度的高精度模式
- 用于快速数据捕获的一次性模式
- I2C™接口
- 兼容1.65V至3.6V的电压范围
- 8个可配置地址
- 高达3.4MHz(高速)
- 宽工作范围
- 模拟电源:1.65V至3.6V
- 温度范围:–40℃至125℃
应用
- 物联网 (IoT) 用传感器节点
- 气体、热量、PIR运动和烟雾探测器
- 用于电梯、自动扶梯、HVAC、工业设备等的预防性维护
- 可穿戴电子产品
- 用于故障指示器的过零检测
- 监控功能
- 具有可编程基准电压的比较器
- 用于深入学习人工智能的传感器
Datasheet
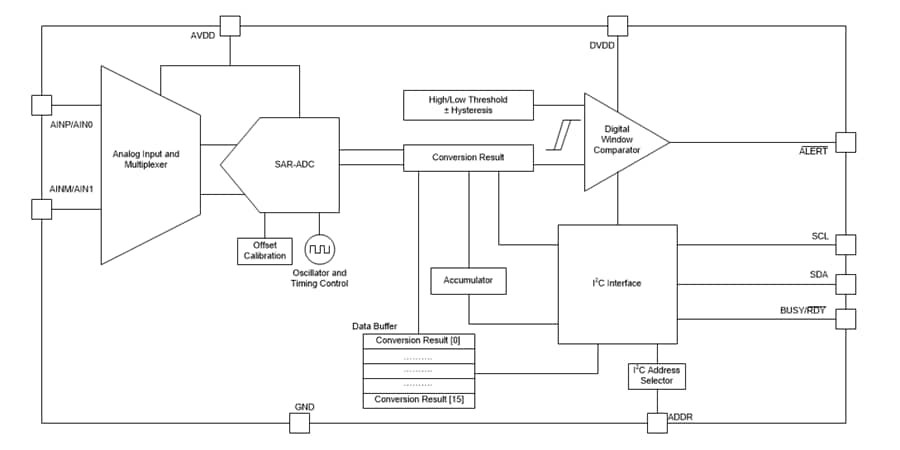
ADS7142功能图
发布日期: 2018-02-08
| 更新日期: 2022-10-27
