Texas Instruments ADS85xxS同步采样模数转换器
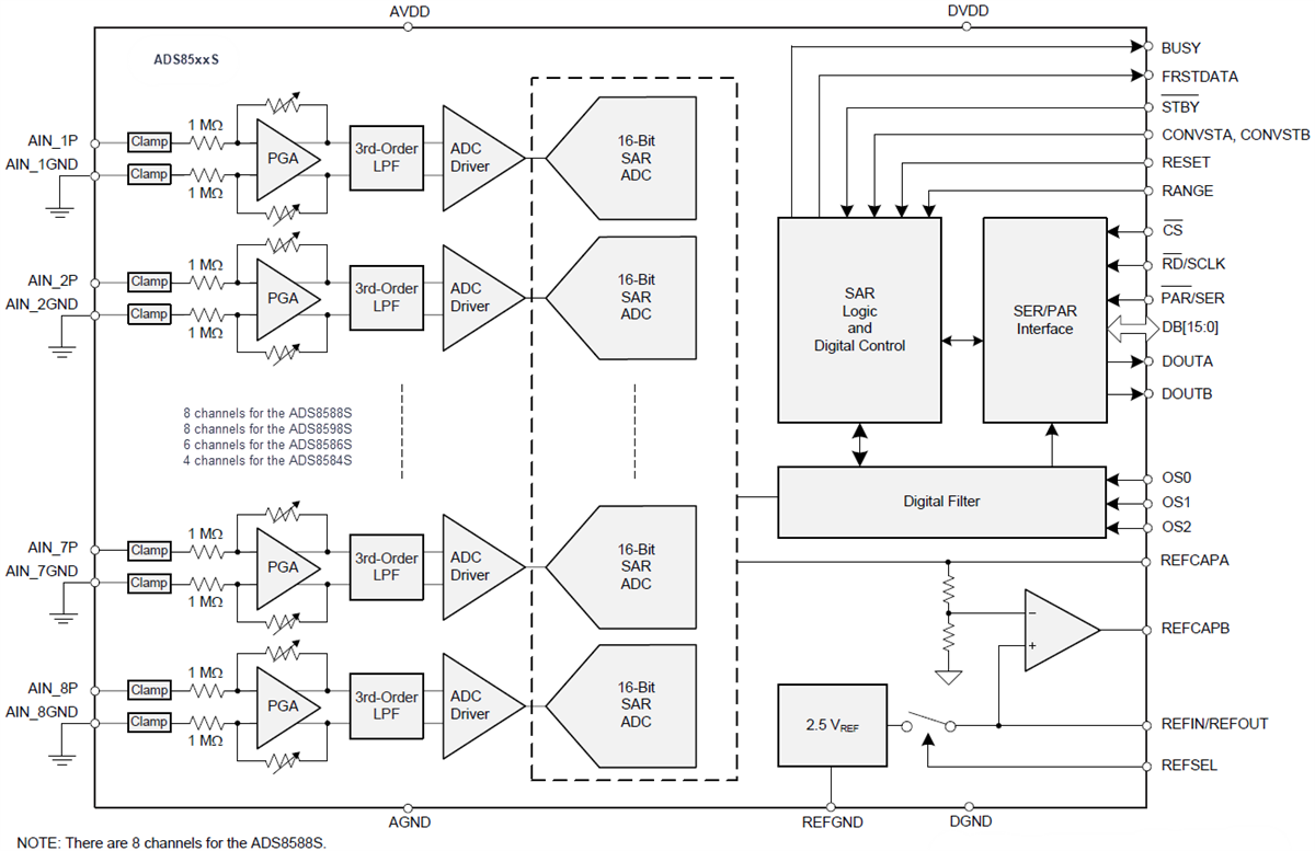
Texas Instruments ADS85xxS同步采样ADC是一款基于16位逐次逼近 (SAR) 模数转换器 (ADC) 的集成式数据采集 (DAQ) 系统。所有输入通道均同时采样,以实现每通道200kSPS的最大吞吐量。该器件的每个通道都有一个完整的模拟前端,包括输入阻抗高达1MΩ的可编程增益放大器 (PGA)。另外还包括输入钳位保护电路、低通滤波器和ADC输入驱动器。这款器件中的每一个器件还具有低漂移高精度基准电压,以及一个用于驱动ADC的缓冲器。凭借灵活的数字接口,可支持串行、并行和并行字节通信。因此该器件可与各种主机控制器配合使用。特性
- 具有集成模拟前端的16位ADC
- 同步采样:8/6/4通道
- 引脚可编程双极输入: ±10V和±5V
- 高输入阻抗:1MΩ
- 5V 模拟电源:2.3V 到 5V I/O 电源
- 7kV 静电放电 (ESD) 过压输入钳位
- 低漂移片上基准 (2.5V) 和缓冲器
- 出色的性能
- 所有通道的最大吞吐量为 200kSPS
- DNL:±0.35LSB;INL:±0.45LSB
- SNR:96.4dB;THD:−114dB
- 过热性能
- 最大偏移漂移:3ppm/°C
- 增益漂移:6ppm/°C
- 用于过采样的片上数字滤波器
- 灵活的并行、字节和串行接口
- 温度范围:–40°C 至 +125°C
- 封装:LQFP-64
应用
- 电网监测和控制
- 保护继电器
- 多相电机控制
- 工业自动化和控制
- 多通道数据采集系统
简化框图
发布日期: 2017-02-08
| 更新日期: 2022-03-24
