Texas Instruments AFE4432集成模拟前端 (AFE)
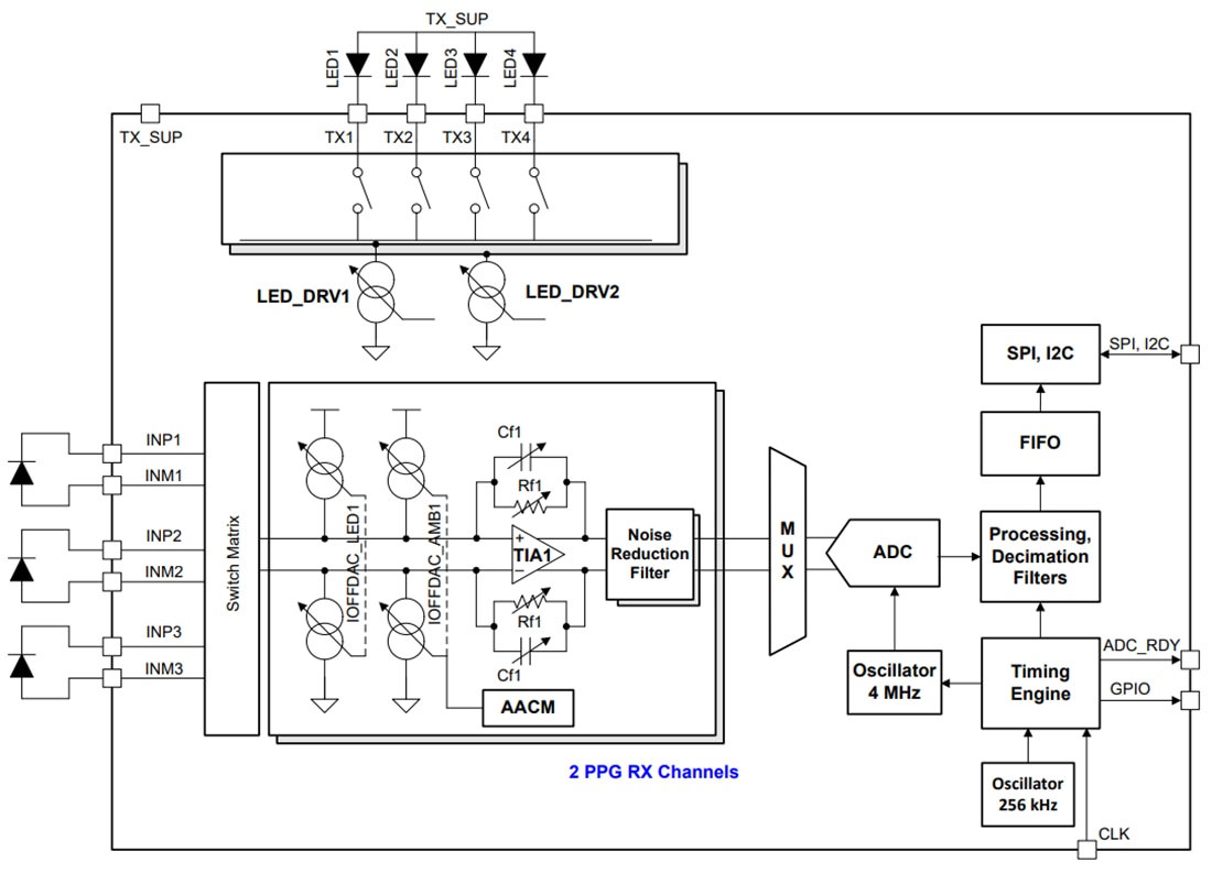
Texas Instruments AFE4432模拟前端 (AFE) 用于光学生物传感应用,例如心率监测 (HRM) 和血氧饱和度 (SpO2) 测量。该器件支持多达四个开关可发光二极管 (LED) 和多达三个光电二极管。该AFE具有两个LED驱动器,每个驱动器均具有8位电流控制功能。Texas Instruments AFE4432具有宽动态范围的发射和接收电路,有助于感测超小信号电平。最多可定义12个信号相位集,每个相位集由LED和环境相位组合组成。接收器输入端的低噪声失调DAC可自动控制,从而消除环境光和LED光产生的直流。在各相位中,PD所产生的电流先经TIA转换为电压,再滤波,然后使用通用ADC进行数字化。ADC编码可存储到160采样先入先出 (FIFO) 存储块。FIFO可通过SPI或I2C接口读出。特性
- 支持多达12个相位集的信号采集
- 支持多达4个LED和3个PD
- 在每个相位内均可实现灵活的LED和PD分配
- 以不同数据速率同时从不同传感器采集信号
- 精确、连续的PPG监测
- 可穿戴设备连续监测心率的低电流,其典型值为:15µA(接收器)
- 0.5-10Hz频段下的峰值系统SNR为115dB ,可实现高精度SpO2测量
- 发射器
- 8位可编程LED电流,在25mA至250mA范围内可调
- 为两个并联LED供电的模式,独立的每相电流控制
- 可编程的每相LED导通时间
- 同时支持4个LED,用于SpO2、多波长HRM
- 接收器
- 支持3个时间多路复用PD输入
- 两个并行接收器(两组TIA/滤波器)
- 每个TIA输入处独立环境偏移减法DAC,具有8位每相控制,范围可调至255µA
- 每个TIA输入端具有单独的LED失调电压消减DAC,各相控制均为9位,范围为64µA
- ADC输出端的数字环境消减
- 具有可编程带宽的噪声过滤功能
- 跨阻抗增益:3.7KΩ至1MΩ
- 支持外部时钟或内部振荡器
- 可选择以与系统时钟同步的方式获取数据
- 从环境、LED自动取消直流
- FIFO,160采样深度
- SPI™接口/I2C接口
- 1.9mm × 1.8mm DSBGA,0.35mm脚距
- 电源
- Rx:1.7V至1.9V
- Tx:3V至5.5V
应用
- 光学心率监测(HRM),用于可穿戴设备和可听式设备
- 心率变异度 (HRV)
- 脉搏血氧仪 (SpO2) 测量
框图
发布日期: 2022-10-04
| 更新日期: 2022-11-02
