Texas Instruments AFE4462超小型集成式AFE
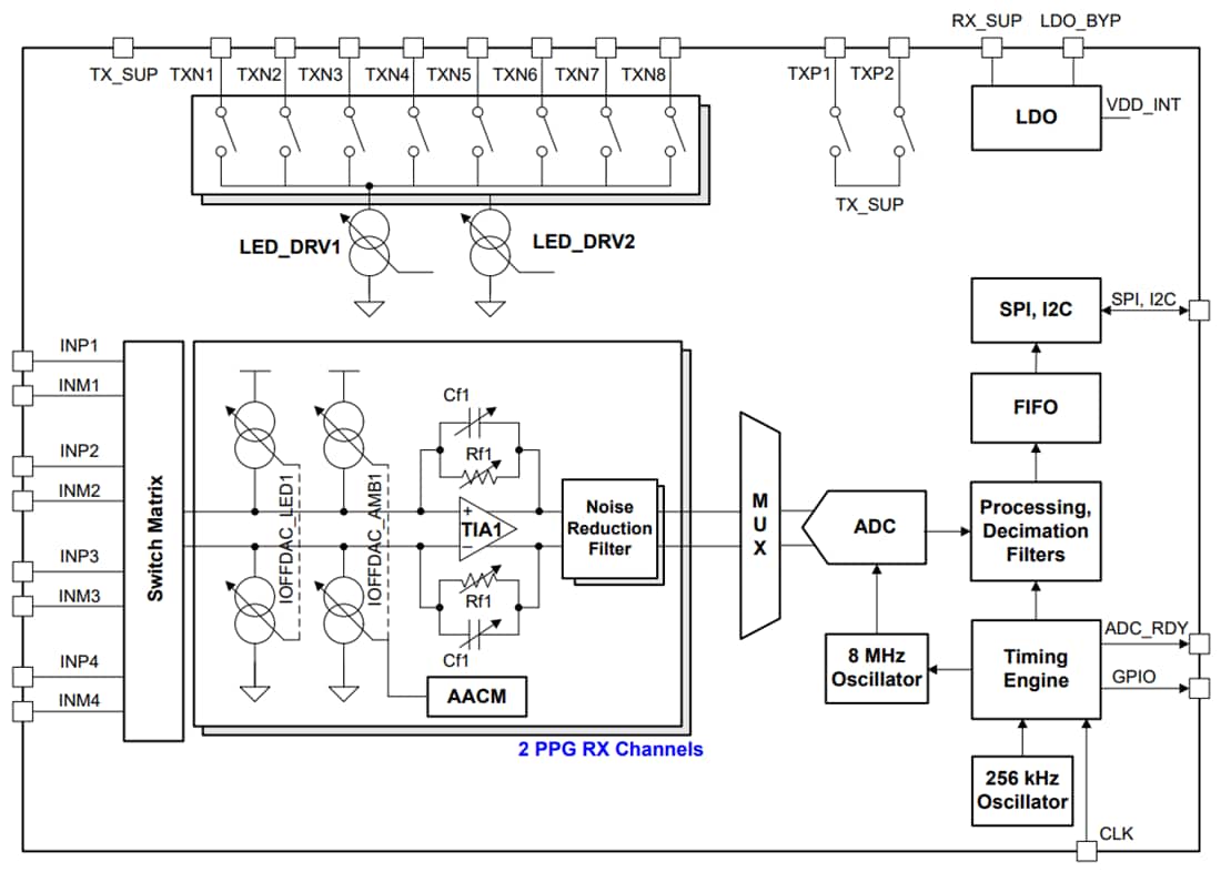
Texas Instruments AFE4462超小型集成式模拟前端(AFE)设计用于光学生物传感应用,例如外周毛细血管氧饱和度(SpO2)和心率监测(HRM)。该器件支持多达四个光电二极管(PD)和多达16个开关发光二极管(LED)。该AFE具有两个LED驱动器,每个驱动器均配备8位电流控制。Texas Instruments AFE4462具有高动态范围的发送和接收电路,有助于感测超小信号电平。可定义多达16个信号相位集,每个相位集均包含环境相位和LED的组合。接收器输入端的低噪声失调DAC可自动控制,从而消除LED光和环境光产生的直流。在各个相位中,4个PD所产生的电流先通过TIA转换为电压,再滤波,然后使用通用ADC进行数字化转换。ADC代码可存储在256样本的FIFO模块中。FIFO可通过SPI或I2C接口读取。特性
- 支持多达16个相位集的信号采集
- 支持多达16个LED和4个PD
- 在每个相位内均可实现灵活的LED和PD分配
- 以不同数据速率同时从不同传感器采集信号
- 精确、连续的PPG监测
- 用于可穿戴设备连续心率监测的低电流,其典型值为:LED为15µA,接收器为15µA
- 系统峰值SNR:115dB
- 接收器
- 支持4路时分多路复用PD输入
- 两个并行接收器(四组TIA/滤波器)
- 每个TIA输入处独立环境偏移减法DAC,具有8位每相控制,范围可调至255 µA
- 每个TIA输入端具有单独的LED失调电压消减DAC,各相控制均为9位,范围为64µA
- ADC输出端的数字环境消减
- 具有可编程带宽的噪声过滤功能
- 跨阻增益:3.7kΩ至1MΩ
- 发射器
- 8位可编程LED电流,在25mA至250mA范围内可调
- 为两个并联LED供电的模式,独立的每相电流控制
- 可编程的每相LED导通时间
- 同时支持16个LED,用于SpO2、多波长HRM和光谱分析
- 支持外部时钟或内部振荡器
- 可选择以与系统时钟同步的方式获取数据
- 自动消除环境、LED直流
- FIFO深度可存储256个样本
- SPI™接口/I2C接口
- 2.6mm×2.6mm DSBGA封装,脚距为0.4mm
- 电源
- Rx:1.7V至1.9V(LDO旁路);1.9V至3.6V(LDO启用)
- Tx:3V至5.5V,IO:1.7RX_SUP
应用
- 光学心率监测(HRM),用于可穿戴设备和可听式设备
- 心率异分析(HRV)
- 脉搏血氧饱和度(SpO2)测量
- 光谱分析
框图
发布日期: 2025-02-25
| 更新日期: 2025-03-11
