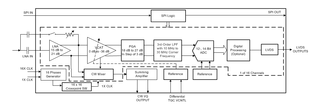
在TGC模式下,每个通道包含一个低噪声放大器 (LNA)、一个电压控制器衰减器 (VCAT)、一个可编程增益放大器 (PGA) 和一个三阶低通滤波器 (LPF)。在CW模式下,LNA的输出将进入具有16种可选相位延迟的低功耗无源混频器,后跟具有带通滤波器的加法放大器。ADC分辨率可与转换速率交换,最大工作速度为65MSPS(14位分辨率)和80MSPS(12位分辨率)。ADC设计为根据采样率调整其功耗。此外,ADC的输出接口通过低电压差分信号 (LVDS) 进行输出,可轻松与低成本现场可编程门阵列 (FPGA) 相连接。该器件兼容AFE5818和AFE5816系列。
特性
- 速度高达1Gbps的LVDS接口
- 小型封装:15mm×15mm NFBGA-289
- 适用于超声波应用的16通道AFE:
- 用于TGC和CW模式且经过优化的信号链
- 四个可编程TGC配置文件
- 具有以下特性的低噪声放大器 (LNA):
- 可编程增益:21dB、18dB和15dB
- 线性输入信号振幅:0.37VPP、0.5VPP和0.71VPP
- 有源终端
- 压控衰减器 (VCAT):
- 衰减范围:0dB至36dB
- 可编程增益放大器 (PGA):
- 18dB至27dB,阶跃为3dB
- 三阶线性相位低通滤波器 (LPF):
- 截止频率:10MHz至30MHz
- ADC模式(空闲通道SNR):
- 14位、65MSPS模式:75dBFS
- 12位,80MSPS模式:72dBFS
- 针对噪声和功耗进行了优化:
- TGC模式:102mW/ch(0.8nV/√Hz,65MSPS时),14位输出
- CW模式:63mW/通道
- 出色的器件间增益匹配:
- ±0.4dB(典型值)
- 快速且持续的过载恢复
- 具有以下特性的连续波 (CW) 路径:
- 低近端相位噪声–159dBc/Hz (2.5MHz载波频偏1kHz时)
- 相位分辨率:λ/16
- 支持16x和8x CW时钟
- 三阶和五阶谐波12dB抑制
应用
- 医学超声波成像
- 无损检测设备
- 声纳成像设备
框图
发布日期: 2018-07-13
| 更新日期: 2022-11-10

