Texas Instruments AFEx32A3W电流源智能模拟前端
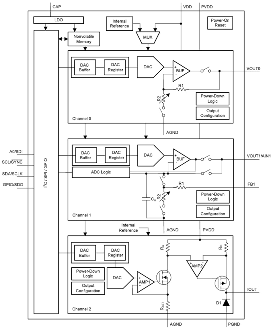
Texas Instruments AFEx32A3W电流源智能模拟前端 (AFE) 是一款三通道、缓冲电压输出、电流输出和ADC输入智能AFE。AFEx32A3W器件支持的电流源可用于线性控制激光二极管和微型电机。这些器件支持Hi-Z掉电模式和电压输出断电条件下的Hi-Z输出。通道1可配置为ADC、电压输出DAC或比较器。该电压输出DAC提供强制感应选项,用作可编程比较器和电流阱。借助多功能GPIO、功能生成和可编程非易失性存储器(NVM),这些智能AFE可用于无处理器应用和设计重复使用。这些器件自动检测SPI或I2C接口,包含一个内部基准。Texas Instruments AFEx32A3W的功能集与微型封装和低功耗相结合,使这些智能AFE非常适合用于无源光网络 (PON) 和其他工业激光应用中的激光二极管功率控制和电吸收调制激光器 (EML) 控制等应用。
特性
- 电流源DAC
- 1 LSB DNL
- 两个量程(300mA和220mA)
- 770mV余量
- 双电压输出DAC
- 1 LSB DNL
- 1×、1.5×、2×、3×和4×增益
- 通道1上的ADC输入
- 通道1上的可编程比较器模式
- VDD 关闭时可提供高阻抗输出
- 高阻抗和电阻下拉断电模式
- 50 MHz SPI兼容型接口
- 自动检测I2C或SPI(1.62V VIH,VDD = 5.5V时)
- 可配置为多种功能的通用输入/输出 (GPIO)
- 预定义波形生成(正弦、余弦、三角和锯齿)
- 用户可编程的非易失性存储器 (NVM)
- 内部或电源作为基准
- 宽工作范围
- 电源范围:3 V至5.5 V
- 温度范围:-40°C至+125°C
应用
- 光学模块
- 激光
功能框图
发布日期: 2024-03-13
| 更新日期: 2024-03-21
