Texas Instruments AM1705 Sitara ARM微处理器 (MPU)
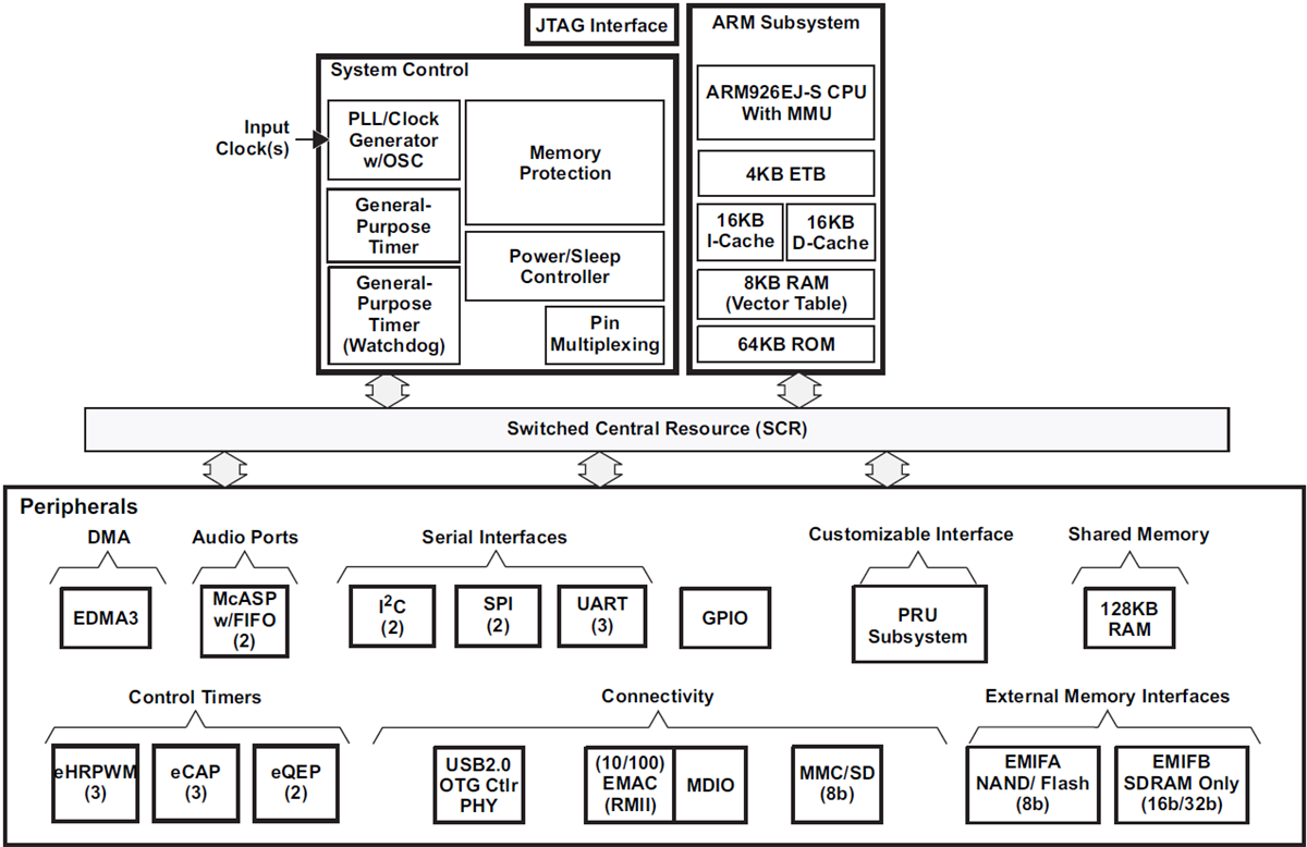
Texas Instruments AM1705 Sitara ARM微处理器 (MPU) 是一款基于ARM926EJ-S的低功耗ARM微处理器。该设备使得原始设备制造商 (OEM) 和原始设计制造商 (ODM) 能够快速地将具有稳健操作系统支持、丰富用户界面以及较长处理性能寿命的设备推向市场。这主要得益于完全集成式混合处理器解决方案带来的最大灵活性。ARM926EJ-S 是 32 位 RISC 处理器核心,可执行 32 位或 16 位指令,处理 32 位、16 位或 8 位数据。内核采用指令管道技术,因此处理器和内存系统的各个部分可连续工作。ARM 内核包含一个协同处理器 15 (CP15)、保护模块以及带段表后备缓冲器的数据和程序记忆管理单元 (MMU)。ARM 内核具有单独的 16KB 说明和 16KB 数据缓存。两个记忆块均与虚拟索引虚拟标签 (VIVT) 四路相关。ARM内核还包含8KB的RAM(矢量表)和64KB的ROM。The ARM926EJ-S is a 32-bit RISC processor core that performs 32-bit or 16-bit instructions and processes 32-bit, 16-bit, or 8-bit data. The core uses pipelining so that all parts of the processor and memory system can operate continuously. The ARM core has a coprocessor 15 (CP15), protection module, and data and program memory management units (MMUs) with table look-aside buffers. The ARM core has separate 16KB of instruction and 16KB data caches. Both memory blocks are four-way associative with virtual index virtual tag (VIVT). The ARM core also has 8KB of RAM (Vector Table) and 64KB of ROM.
特性
- 375MHz和456MHz ARM926EJ-S™ RISC内核32位和16位 (Thumb®) 指令
- ARM9内存架构16KB指令缓存
- 增强型直接内存访问控制器3 (EDMA3)
- 128KB内存
- 3.3V LVCMOS I/O(不包括USB接口)
- 两个外部存储器接口
- 三个可配置的16550型UART模块
- 两个串行外设接口 (SPI),各带一个芯片选择
- 可编程实时单元子系统 (PRUSS)
- 配有安全数据输入/输出 (SDIO) 的多媒体卡 (MMC)/安全数码 (SD) 卡接口
- 两个主/从内部集成电路 (I2C Bus™)
- USB 2.0 OTG端口,带集成PHY (USB0)
- 两个多通道音频串行端口 (McASP)
- 10/100Mbps以太网MAC (EMAC)
- 一个64位通用定时器(可配置为两个32位定时器)
- 一个64位通用看门狗定时器(可配置为两个32位通用定时器)
- 三个增强型脉宽调制器 (eHRPWM)
- 三个32位增强型捕获 (eCAP) 模块
- 两个32位增强型正交编码器脉冲 (eQEP) 模块
- 176引脚PowerPAD™塑料四方扁平封装 [PTP后缀],脚距为0.5mm
- 商业级、工业级或扩展温度
应用
- 工业自动化
- 家居自动化
- 测试与测量
- 便携式数据终端
Additional Resources
功能框图
发布日期: 2016-02-03
| 更新日期: 2025-06-23
