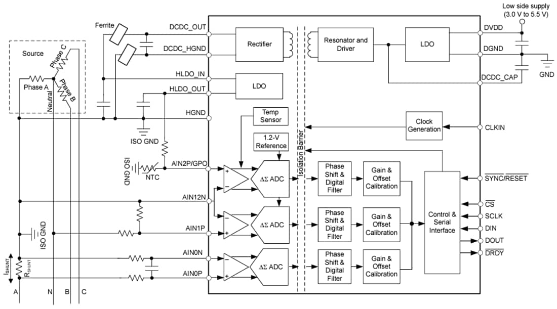
Texas Instruments AMC130M03具有完全集成的隔离式直流-直流转换器,支持器件低侧的单电源运行。增强型电容隔离栅通过UL1577和VDE 0884-17认证。该隔离栅将系统各部分隔开,以保护低压部分免受损坏。它可在不同共模电压电平下工作,因此AMC130M03非常适合用于采用分流电流传感器的多相电能计量应用。
特性
- 三个隔离式同步采样ΔΣ ADC,具有差分输入
- 单电源运行(3.3V或5V),带集成直流-直流转换器
- 低EMI,符合CISPR-11和CISPR-25标准
- 可编程数据速率高达64kSPS
- 可编程增益高达128
- 低漂移内部电压基准
- 4线SPI接口,带循环冗余校验 (CRC)
- 安全相关认证
- 7070VPEAK 增强隔离符合DIN EN IEC 60747-17(VDE 0884-17)
- 符合UL1577,5000VRMS 隔离1分钟
- 20引脚宽体SOIC封装
- 工作温度范围:-40°C至+125°C
应用
- 电表(商业电表和住宅电表)
- 断路器
- 电动汽车充电站
- 电池管理系统
功能框图
发布日期: 2023-12-15
| 更新日期: 2024-01-03

