Texas Instruments AWR1243 76GHz至81GHz汽车用毫米波MMIC
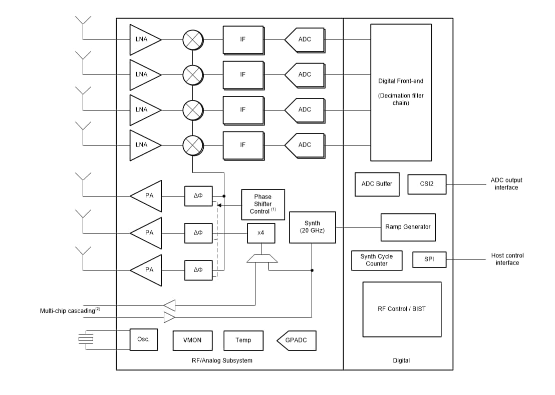
Texas Instruments AWR1243 76GHz至81GHz汽车用毫米波MMIC是一款集成式单芯片FMCW收发器,采用超小外形设计。AWR1243 MMIC非常适合用于汽车空间内低功耗、自监控、超精准雷达系统。该器件基于TI的低功耗45nm RFCMOS工艺,实现单片实施3TX、4RX系统(带内置PLL和A2D转换器)。只需进行简单的编程型号变更,即可实施各种传感器(短、中、长),并可进行动态重新配置以实施多模传感器。AWR1643传感器是一套完整的平台解决方案,包括参考硬件设计、软件驱动程序、示例配置、API指南和用户文档。特性
- FMCW收发器
- 集成式PLL、发送器、接收器、基带和A2D
- 76GHz至81GHz工作频带,4GHz可用带宽
- 四个接收通道
- 三个发射通道(AWR1243两个通道同时使用;AWR1243P所有三个通道同时使用)
- 基于小数N分频PLL的超精准线性调频脉冲引擎
- TX功率:12dBm
- RX噪声系数:
- 14dB (76GHz - 77GHz)
- 15dB (77GHz - 81GHz)
- 相位噪声 (1MHz):
- –95dBc/Hz (76GHz - 77GHz)
- –93dBc/Hz (77-81GHz)
- 内置校准和自检
- 内置固件 (ROM)
- 在整个频率和温度范围内的自校准系统
- 主机接口
- 控制接口,带外部处理器(通过SPI)
- 数据接口,带外部处理器(通过MIPI D-PHY和CSI2 V1.1)
- 中断,用于故障报告
- AWR1243高级特性
- 嵌入式自我监测,无需借助主机处理器
- 复杂的基带架构
- 可以级联多个器件,增加通道数
- 嵌入式干扰检测能力
- 电源管理
- 用于增强PSRR的内置LDO网络
- I/O支持双电压3.3V/1.8V
- 时钟源
- 支持40MHz外部驱动时钟(方波/正弦波)
- 支持40MHz晶体连接(带负载电容器)
- 简单的硬件设计
- 0.65mm脚距、161引脚10.4mm × 10.4mm覆晶法BGA封装,可实现易于组装和低成本的PCB设计
- 小尺寸解决方案
- 支持汽车工作温度范围
- 针对ASIL B
- 符合AEC-Q100标准
应用
- 自动公路驾驶
- 自动紧急制动
框图
发布日期: 2018-12-17
| 更新日期: 2023-07-24
