Texas Instruments AWR1443 76GHz至81GHz汽车雷达传感器
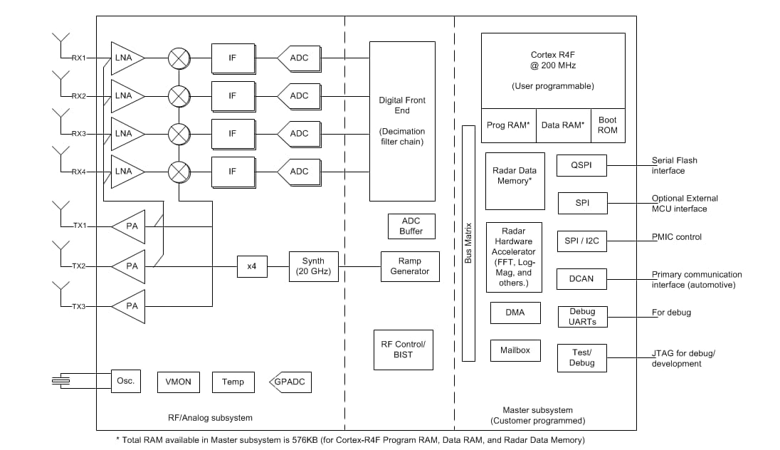
Texas Instruments AWR1443单芯片76GHz至81GHz汽车雷达传感器具有集成式单芯片FMCW,集成度高,尺寸超小。该器件采用TI的低功耗45nm RFCMOS工艺,集成ARM R4F处理器和硬件加速器,用于雷达数据处理。AWR1443非常适合用于汽车空间内的低功耗、自监控、超精准雷达系统。AWR1443包括以单片实施的3TX、4RX系统(带内置PLL和A2D转换器)。只需进行简单的编程型号变更,即可实施各种传感器(短、中、长),并可进行动态重新配置以实施多模传感器。该器件是一套完整的平台解决方案,包括参考硬件设计、软件驱动程序、示例配置、API指南和用户文档。AWR1443可作为77GHz片上雷达解决方案,用于入门级雷达应用。特性
- FMCW收发器
- 集成式PLL、发送器、接收器、基带和A2D
- 76GHz至81GHz工作频带,4GHz可用带宽
- 四个接收通道
- 三个发射通道(可以同时使用两个)
- 基于小数N分频PLL的超精准线性调频脉冲引擎
- TX功率:12dBm
- RX噪声系数:
- 14dB (76GHz - 77GHz)
- 15dB (77GHz - 81GHz)
- 相位噪声 (1MHz):
- –94dBc/Hz (76 - 77GHz)
- –91dBc/Hz (77 - 81GHz)
- 片上可编程核心,用于嵌入式用户应用
- 集成式Cortex®-R4F微控制器,时钟频率为200MHz
- 片上引导加载程序支持自主模式(从QSPI闪存加载用户应用程序)
- 集成外设
- 内部存储器(带ECC)
- 雷达硬件加速器(FFT、对数幅度计算等)
- 集成计时器(看门狗和最多四个32位或两个64位计时器)
- I2C(支持主从模式)
- 两个SPI端口
- CAN端口
- 多达六个通用ADC端口
- 高速数据接口,支持分布式应用程序(即中间数据)
- 主机接口
- 控制接口,带外部处理器(通过SPI)
- 中断,用于故障报告
- 符合AECQ100标准
- AWR1443高级特性
- 嵌入式自我监测,无需借助主机处理器
- 复杂的基带架构
- 嵌入式干扰检测能力
- 电源管理
- 用于增强PSRR的内置LDO网络
- I/O支持双电压3.3V/1.8V
- 时钟源
- 支持40MHz外部驱动时钟(方波/正弦波)
- 支持40MHz晶体连接(带负载电容器)
- 简单的硬件设计
- 0.65mm脚距、161引脚10.4mm × 10.4mm覆晶法BGA封装,可实现易于组装和低成本的PCB设计
- 小尺寸解决方案
- 支持汽车工作温度范围
- 内置校准和自检
- 基于ARM® Cortex®-R4F的无线电控制系统
- 内置固件 (ROM)
- 在整个频率和温度范围内的自校准系统
应用
- 接近传感
- 停车辅助
- 占用检测
- 简单手势识别
- 汽车开门器应用
框图
发布日期: 2018-12-17
| 更新日期: 2023-07-24
