包含一个基于ARM R4F的处理器子系统,实现无线电配置、控制和校准。通过简单的编程模型更改可执行短、中和长传感器,可通过动态重配置来提供多模式传感器。AWR1642传感器包括参考硬件设计、软件驱动程序、示例配置、API指南和用户文档,从而创建完整的平台解决方案。
特性
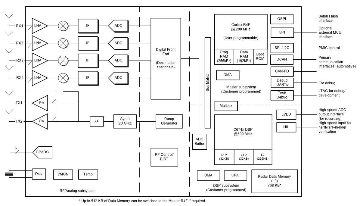
- FMCW收发器
- 集成式PLL、发送器、接收器、基带和A2D
- 77GHz至79GHz工作频带,4GHz可用带宽
- 四个接收通道
- 两个发送通道
- 基于小数N分频PLL的超精准线性调频脉冲(计时)引擎
- TX功率:12.5dBm
- RX噪声系数:
- 14dB (76GHz - 77GHz)
- 15dB (77GHz - 81GHz)
- 相位噪声 (1MHz):
- –95dBc/Hz (76GHz - 77GHz)
- –93dBc/Hz (77-81GHz)
- 内置校准和自检(监测)
- 基于ARM® Cortex®-R4F的无线电控制系统
- 内置固件 (ROM)
- 在整个频率和温度范围内的自校准系统
- 用于FMCM信号处理的C674x DSP
- 片上存储器:1.5MB
- 用于目标跟踪和分类、AUTOSAR和接口控制的Cortex-R4F微控制器
- 支持自主模式(从QSPI闪存加载用户应用程序)
- 集成外设
- 内部存储器(带ECC)
- 主机接口
- CAN(两个实例,其中一个为CAN-FD)
- 针对ASIL B
- 符合AECQ100标准
- AWR1642高级特性
- 嵌入式自我监测,无需借助主机处理器
- 复杂的基带架构
- 嵌入式干扰检测能力
- 电源管理
- 用于增强PSRR的内置LDO网络
- I/O支持双电压3.3V/1.8V
- 时钟源
- 支持40MHz外部振荡器
- 支持40MHz外部驱动时钟(方波/正弦波)
- 支持40MHz晶体连接(带负载电容器)
- 简单的硬件设计
- 0.65mm脚距、161引脚10.4mm × 10.4mm覆晶法BGA封装,可实现易于组装和低成本的PCB设计
- 小解决方案尺寸
- 支持汽车工作温度范围
- 可用于用户应用的其他接口
- 多达6个ADC通道
- 多达2个SPI通道
- 2个UART
- I2C
- GPIO
- 用于原始ADC数据和调试仪器的2通道LVDS接口
应用
- 盲点检测
- 车道变换辅助
- 交叉通行警报
- 停车辅助
- 占用检测
- 简单手势识别
- 汽车开门器应用
Additional Resources
- AWR1642 Datasheet
- Whitepaper: 77GHz Single Chip Radar Sensor Enables Automotive Body and Chassis Applications
- Whitepaper: AWR1642: 77GHz Radar-on-Chip for Short-Range Radar Applications
- Whitepaper: mmWave Radar: Enabling Greater Intelligent Autonomy at The Edge
- Whitepaper: Moving From Legacy 24GHz to State-Of-The-Art 77GHz Radar
- Whitepaper: Reliability Advantages of TI Flip-Chip BGA Packaging
- Whitepaper: The Fundamentals of Millimeter Wave Radar Sensors
框图
发布日期: 2018-05-31
| 更新日期: 2023-01-27

