Texas Instruments AWRL1432毫米波雷达传感器
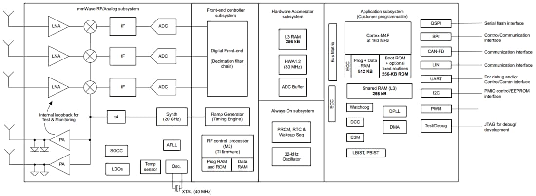
Texas Instruments AWRL1432毫米波雷达传感器是一款基于调频连续波 (FMCW) 雷达技术的集成式单芯片毫米波传感器。该器件可在76GHz至81GHz频段内工作,分为四个电源域:射频/模拟子系统、前端控制器子系统(FECSS)、应用子系统 (APSS) 和硬件加速器 (HWA)。AWRL1432具有针对每个电源域的单独控制,可根据用例要求控制器件的状态(上电或断电)。它可以实现深度睡眠和睡眠等各种低功耗状态,其中低功耗睡眠模式是通过时钟门控和关闭器件内部IP模块来实现的。在这种情况下,该器件保留其部分内容,例如应用图像或射频配置文件。此外,该器件采用TI的低功耗45nm射频CMOS工艺制造而成,外形极其小巧,集成度极高。AWRL1432设计用于汽车领域中的低功耗、自监测、超精确雷达系统,用于脚踢开门、泊车辅助、盲点检测和车门障碍物检测等应用。
特性
- FMCW收发器
- 集成PLL、发射器、接收器、基带和ADC
- 76GHZ到81GHz的覆盖范围,5GHz连续带宽
- 三个接收通道和两个发射通道
- 短程
- 每Tx输出功率:11dBm(典型值)
- 噪声系数:14dB(典型值)
- 1MHz时的相位噪声:-89dBc/Hz(典型值)
- FMCW运行
- 5MHz IF带宽,仅实部Rx通道
- 基于小数N分频PLL的超精准线性调频脉冲引擎
- 每发射器二进制移相器
- 处理元件
- 带单精度FPU的Arm® M4F®内核 (160MHz)
- 用于FFT、对数幅度和CFAR运算的TI雷达硬件加速器 (HWA 1.2) (80MHz)
- 支持多种低功耗模式
- 空闲模式和深度睡眠模式
- 电源管理
- 支持1.8 V和3.3 V IO
- 用于增强PSRR的内置LDO网络
- BOM优化和功率优化的模式
- 一个或两个电源轨(1.8V IO模式),两个或三个电源轨(3.3V IO模式)
- FCCSP器件的封装尺寸:6.45mm x 6.45mm
- 内置校准和自检
- 内置固件(ROM)
- 自带片上校准系统
- 主机接口
- UART
- CAN FD
- SPI
- LIN
- 用于采集原始ADC样本的RDIF(雷达数据接口)
- 可用于用户应用的其他接口
- QSPI
- I2C
- JTAG:
- GPIO
- PWM接口
- 内部存储器
- 1 MB片上RAM
- 用于雷达立方体的可配置的L3共享内存
- 数据和代码RAM (512/640/768KB)
- 针对功能安全标准
- 开发用于功能安全应用
- 硬件完整性达到ASIL B标准
- 12 x 12、102个BGA焊球的FCCSP封装
- 符合 AECQ-100
- 时钟源
- 40.0MHz主时钟晶体
- 支持40.0 MHz外部驱动时钟(方波/正弦波)
- 用于低功耗运行的32kHz内部振荡器
- 支持温度工作范围
- 工作结温范围:-40 °C至125 °C
应用
- 脚踢开门
- 自动泊车
- 车门开启器
- 十字路口交通辅助系统(前)
- 盲点检测
- 变道辅助
功能框图
发布日期: 2024-08-20
| 更新日期: 2025-05-15
