Texas Instruments AWRL6432-Q1汽车mmWave雷达传感器
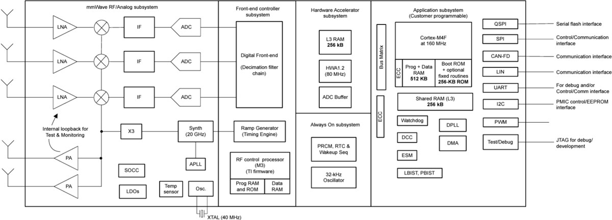
Texas Instruments AWRL6432-Q1汽车mmWave雷达传感器是基于FMCW雷达技术的集成单芯片mmWave传感器。这些雷达传感器 通过了汽车应用类AEC-Q100认证,工作在57GHz至63.9GHz覆盖范围,具有7GHz的连续带宽。AWRL6432-Q1雷达传感器分为四个功率域,如射频/模拟子系统、前端控制器子系统 (FECSS)、应用子系统 (APPSS) 和硬件加速器 (HWA)。这些雷达传感器具有内置固件和增强PSRR的内置LDO网络。该雷达传感器支持多种低功耗模式,如空闲模式和深度睡眠模式。低功耗睡眠模式是通过时钟门控和关闭器件内部IP模块来实现的。典型应用包括车内感应、儿童存在检测、乘员检测、安全带提醒、入侵者检测、基于手势的人机界面,以及驾驶员生命体征监测。特性
- 符合AEC Q-100标准
- FMCW收发器
- 集成PLL、发射器、接收器、基带和ADC
- 57 GHz至64 GHz工作频带,7 GHz连续带宽
- 3接收通道和2发送通道
- 典型距离可达25m
- 每Tx典型输出功率为11dBm
- 典型噪声系数为11dB
- 1MHz时典型相位噪声为-89dBc/Hz
- FMCW运行
- 5MHz IF带宽,仅实部Rx通道
- 基于小数N分频PLL的超精准线性调频脉冲引擎
- 每发射器二进制移相器
- 处理元件
- Arm® M4F® 内核带单精度FPU (160MHz)
- 用于FFT、对数幅度和CFAR运算 (80MHz) 的雷达硬件加速器 (HWA 1.2)
- 电源管理:
- 支持1.8V和3.3V IO
- 用于增强PSRR的内置LDO网络
- BOM优化和功率优化的模式
- 一个或两个电源轨用于1.8V IO模式,两个或三个电源轨用于3.3V IO模式
- 主机接口:
- UART
- CAN FD
- SPI
- LIN
- 雷达数据接口 (RDIF),用于原始ADC样本捕获
- 内置校准和自检
- 内置固件 (ROM)
- 自带片上校准系统
- 可用于用户应用的其他接口
- QSPI
- I2C
- JTAG:
- GPIO
- PWM接口
- 内部存储器:
- 1MB片上RAM
- 雷达立方体可配置L3共享内存
- 数据和代码RAM为(512KB/640KB/768KB)
- 针对功能安全合格:
- 开发的功能安全应用
- 硬件完整性达到ASIL-B标准
- 支持多种低功耗模式:
- 空闲模式和深度睡眠模式
- FCCSP封装:
- 12 x 12 BGA球栅
- 102个BGA焊球
- 6.45 mm x 6.45 mm 封装
- 时钟源:
- 40MHz主时钟晶体
- 支持40MHz外部驱动时钟(方波/正弦波)
- 32kHz用于低功耗运行的内部振荡器
- 工作结温范围:-40 °C至125 °C
应用
- 内部机舱检测
- 儿童存在检测
- 占用检测
- 安全带提醒
- 入侵检测
- 基于手势的HMI
- 驾驶员生命体征监测
框图
其他资源
发布日期: 2024-04-19
| 更新日期: 2025-05-08
