Texas Instruments BQ25910 6A单节并行电池充电器
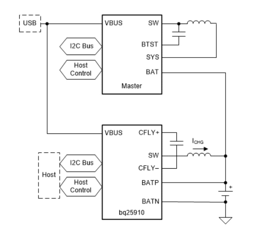
Texas Instruments BQ25910 I2C控制6A三级开关模式单节并联电池充电器可以管理单节锂离子和锂聚合物电池的充电。BQ25910提供真正灵活的解决方案,具有I2C串口,可用于充电和系统设定。三级转换器保持最高开关模式运行效率,并且不断降低解决方案的尺寸,提高功率密度。BQ25910支持高输入电压快速充电,可用于各种便携式设备。另一个功能提供集成式开关FET(QHSA、 QHSB、QLSB、QLSA)和反向阻断 FET(QBLK)。该器件设有多个安全功能,包括热调节和关断、输入UVLO、过压保护、电池OVP、充电安全定时器等。特性
- 并联充电器运行,在双充电器配置中实现快速充电
- 高效率750Hz开关模式三级降压并联充电器
- 减少纹波,支持薄型电感器
- 1.5A电流、5V输入时充电效率为95.4%
- 3A电流、9V输入时充电效率为93.3%
- 尺寸紧凑,与传统降压转换器相比,效率更加出色
- 单个输入,支持USB输入和可调高压适配器
- 支持3.9V至14V输入电压范围,具有20V绝对最大输入电压额定值
- 输入电流限制(500mA至3.6A,100mA的分辨率),以支持USB2.0、USB3.0标准和高压适配器
- 通过高达14V的输入电压限制实现最大功率跟踪 (VINDPM)
- 灵活的I2C模式,可实现最优系统性能
- 高集成度,包含全部MOSFET、电流感测和环路补偿
- 无损充电电流感应,无感应电阻器
- 待机模式低电池漏电流:<10μA
- 高精度
- ±0.4%充电电压调节
- ±10%充电电流调节
- ±7.5%输入电流调节
- 远程差分电池感应
- 安全
- 热调节与热关断
- 输入UVLO和过压保护
- 电池OVP
- 输入动态电源管理 (DPM)
- 充电安全计时器
- 快速电容器短路保护
- 输出电压短路保护
- 采用36引脚WCSP封装
应用
- 智能手机
- 平板电脑
- 无线充电
- 便携式电子产品
- 电子POS机终端 (ePOS)
BQ25910框图
发布日期: 2018-04-11
| 更新日期: 2022-11-18
