Texas Instruments bq27Z558电量计通过HDQ和I2C兼容单线接口进行通信。这些器件包括多个关键功能,有助于促进准确的电量监测应用。集成温度传感功能(内部和外部选项)可实现系统和电池温度测量。
特性
- 支持低至1mΩ的高侧和低侧电流检测电阻
- 支持电池组侧电量监测,包括增强健康状态 (SOH) 算法
- 基于预测OCV的快速QMAX更新选项
- SHA-256身份验证响应器,用于提高电池组安全性
- 精密的充电算法
- JEITA
- 增强型充电
- RSOC充电补偿选项
- 两个独立ADC
- 支持电流和电压的同步采样
- 高精度库仑计数器,输入偏移误差<1µV(典型值)
- 低电压 (2 V) 运行
- 广泛的电流应用(1mA至>5A)
- 高电平或低电平有效的脉冲或电平中断引脚
- 支持电池跳变点 (BTP)
- 低功耗模式(典型电池组工作范围条件)
- 睡眠模式: <1µA(典型值)
- 深度睡眠模式:<9µA(典型值)
- 休眠模式:<3µA(典型值)
- 关闭模式:<1.9µA(典型值)
- 内部和外部温度检测功能
- 诊断使用寿命数据监控器和黑盒记录器
- 400kHz I2C总线通信接口,包括用于高速编程和数据访问的1.2V逻辑电平
- HDQ单线与主机通讯
- 紧凑型12引脚DSBGA封装 (YPH)
应用
- 智能手机
- 数码相机和摄像机
- 平板电脑
- 便携式和穿戴式健康设备
- 便携式音频设备
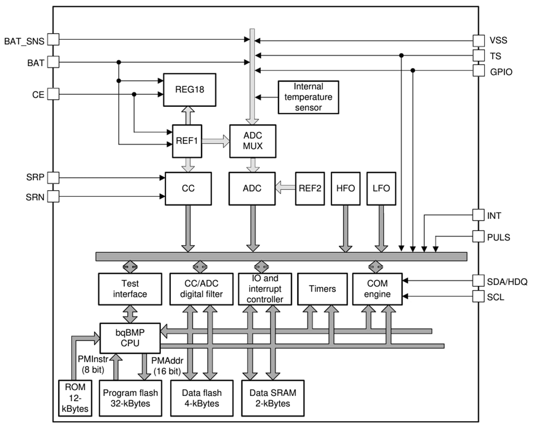
功能框图
发布日期: 2024-02-05
| 更新日期: 2024-04-01

