特性
- 2至5节串联电池的电池监控功能
- 集成低侧驱动器,用于NFET保护,并具有可选的自主恢复功能
- 各种保护套件,包括电压、温度、电流和内部诊断
- 16位Δ-Σ电压ADC
- 的高精度电池电压测量:4mV(典型值)
- 专用同步16位和24位Δ-Σ库仑计数器ADC
- 具有低输入失调误差的高精度电流测量
- 宽量程的电流应用(感应电阻器上的测量范围为±200mV)
- 具有计时器的48位累积电荷积分器
- 多种电源模式(典型电池组工作范围条件)
- 正常模式:32µA到175µA
- 睡眠模式 (6µA)
- 深度睡眠模式:2.7µA
- 关断模式:<1µA
- 主机控制的电池平衡
- 电池连接和选择附加引脚时45V的高电压容差
- 支持使用内部传感器和外部热敏电阻进行温度传感
- 集成一次性可编程 (OTP) 存储器,用于器件设置,由TI编程
- 400kHz I2C串行通信,具有可选CRC支持
- 供外部系统使用的可编程LDO
- 20引脚QFN (RGR) 封装
应用
- 无绳电动工具和园林工具
- 真空吸尘器
- 非军用无人机
- 其他工业电池组(2至5节串联)
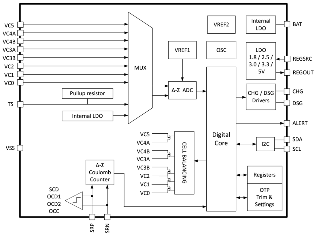
功能框图
发布日期: 2024-02-05
| 更新日期: 2024-02-12

