Texas Instruments bq76907/bq76907-Q1低功耗监视器和保护器
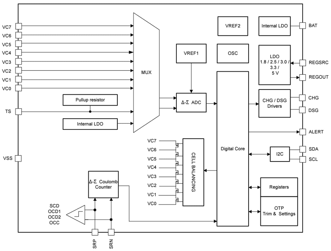
Texas Instruments bq76907/bq76907-Q1低功耗监视器和保护器为2个至7个串联的锂离子、锂聚合物、磷酸铁锂(化学式为LiFePO4,简称LFP)和LTO电池组提供高度集成的高精度电池监视器和保护器。该器件包括一个高精度监控系统(带专用库仑计数器和累积电荷积分)、一个高度可配置的保护子系统,并支持主机控制型电芯均衡。集成包括低侧保护NFET驱动器、用于外部系统的可编程LDO以及支持高达400kHz运行(带可选CRC)的I2C主机通信接口。Texas Instruments bq76907/bq76907-Q1采用20引脚QFN封装。bq76907-Q1器件符合汽车应用类AEC-Q100标准。特性
- 2至7节串联电池的电池监控功能
- 集成低侧驱动器,用于NFET保护,并具有可选的自主恢复功能
- 各种保护套件,包括电压、温度、电流和内部诊断
- 16位Δ-Σ电压ADC
- 4mV的高精度电芯电压测量(典型值)
- 专用的16位或24位Δ-Σ库仑计ADC
- 具有低输入失调电压误差的高精度电流测量
- 宽量程的电流应用(感应电阻器上的测量范围为±200mV)
- 具有计时器的48位累积电荷积分器
- 多种电源模式(典型电池组工作范围条件)
- 正常模式:32µA到175µA
- 睡眠模式 (6µA)
- 深度睡眠模式:2.7µA
- 关断模式:<1µA
- 主机控制的电池平衡
- 电池连接和选择其他引脚上的高电压容差为45 V
- 支持使用内部传感器和外部热敏电阻进行温度传感
- 集成一次性可编程 (OTP) 存储器,用于保存器件设置,由TI编程
- 400kHz I2C串行通信,支持可选CRC
- 供外部系统使用的可编程LDO
- 20引脚QFN (RGR) 封装
应用
- 无绳电动工具和园林工具
- 真空吸尘器
- 非军用无人机
- 其他工业电池组(2个至7个电池组串联)
数据手册
功能框图
发布日期: 2024-02-06
| 更新日期: 2025-04-25
