通过支持SPI和I2C的串行接口与DAC60516进行通信,时钟速率高达50MHz(SPI写入器件期间)。VIO引脚支持1.7V至5.5V串行接口操作。DAC60516灵活接口支持与各种行业标准微处理器和微控制器配合使用。
Texas Instruments DAC60516采用小型WQFN封装,工作温度范围为-40°C至+125°C。
特性
- 性能
- INL:±1LSB(12位分辨率时最大值)
- TUE:FSR最大值的±0.15%
- 集成2.5 V精密内部基准
- 初始精度:±2.5mV(最大值)
- 漂移:15ppm/°C(典型值)
- 灵活的配置选项
- 用户可选增益为2倍或1倍
- 复位至零量程
- 清除输出功能
- 高驱动能力:50mA、0.5V(电源轨)
- 宽工作范围
- 电源范围:2.7 V至5.5 V
- 温度范围:-40°C至+125°C
- SPI和I2C接口,工作电压范围为1.7V至5.5V
- SPI:4线接口
- I2C:四个目标地址
- 4mm×4mm、28引脚WQFN小型封装
应用
- 光学模块
- 直流间互连
- 模拟输出模块
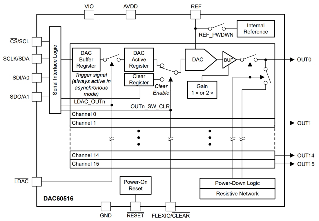
功能框图
发布日期: 2025-04-09
| 更新日期: 2025-04-17

