可以通过一个时钟运行速率高达50MHz的4线制串行接口与DACx0504通信。借助VIO引脚,串行接口可在1.7V至5.5V电压范围内运行。DACx0504灵活接口使其能够用于广泛的行业标准微处理器和微控制器。
DACx0504采用了上电复位电路,上电后能以零电平或中间电平保持DAC输出,直到在器件中写入一个有效代码。该器件消耗的电流较低,为0.7mA/通道 (5.5V),因此适用于依靠电池供电型设备。通道断电特性可将器件电流消耗量降低至15µA。
特性
- 性能
- INL:±1LSB(16位分辨率时最大值)
- 总不可调整误差 (TUE):±0.1% FSR(最大值)
- 集成2.5V精密内部基准
- 初始精度:±5mV(最大值)
- 低漂移:2ppm/°C(典型值)、DAC80504
- 高驱动能力:20mA、0.5V(供电轨)
- 灵活的输出配置
- 用户可选增益:2、1或1/2
- 复位至零量程或中量程
- 宽工作范围
- 电源:2.7V至5.5V
- 温度:–40°C至+125˚C
- 50MHz、SPI兼容串行接口
- 4线模式,1.7V至5.5V工作电压
- 菊花链式运行
- CRC误差校验
- 低功率:0.7mA/通道(5.5V时)
- 小尺寸封装:3mm×3mm,16引脚WQFN
应用
- 光纤网络
- 无线基础设施
- 工业自动化
- 数据采集系统
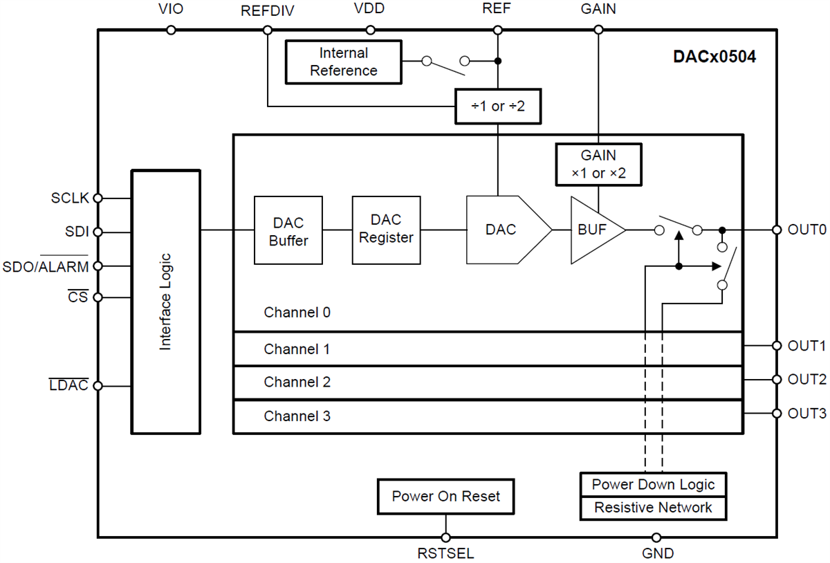
功能框图
发布日期: 2018-10-17
| 更新日期: 2023-07-11

