Texas Instruments DAC82002EVM评估模块

Texas Instruments DAC82002EVM评估模块是一个用于评估DAC82002性能的平台。DAC82002是一款16位、高精度、低功耗、双通道数模转换器 (DAC)。TI DAC82002具有上电复位电路,可在零电平 (0x0000) 或中间电平 (0x8000) 时上电,具体取决于重置-选择 (RSTSEL) 引脚。

特性

  • 板载数字控制器,用于串行外设接口 (SPI) 通信
  • 可配置输出缓冲器运算放大器电路支持即插即用可配置性
  • 低漂移,2.5V基准

PCB布局

Texas Instruments DAC82002EVM评估模块

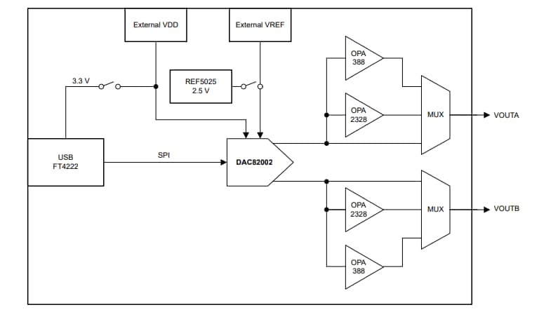
硬件简化示意图

原理图 - Texas Instruments DAC82002EVM评估模块
发布日期: 2022-12-09 | 更新日期: 2025-03-10